EasyManua.ls Logo

Delta ASD-A2-2023 Series - Page 124

Delta ASD-A2-2023 Series
721 pages
Print Icon
To Next Page IconTo Next Page
To Next Page IconTo Next Page
To Previous Page IconTo Previous Page
To Previous Page IconTo Previous Page
Loading...
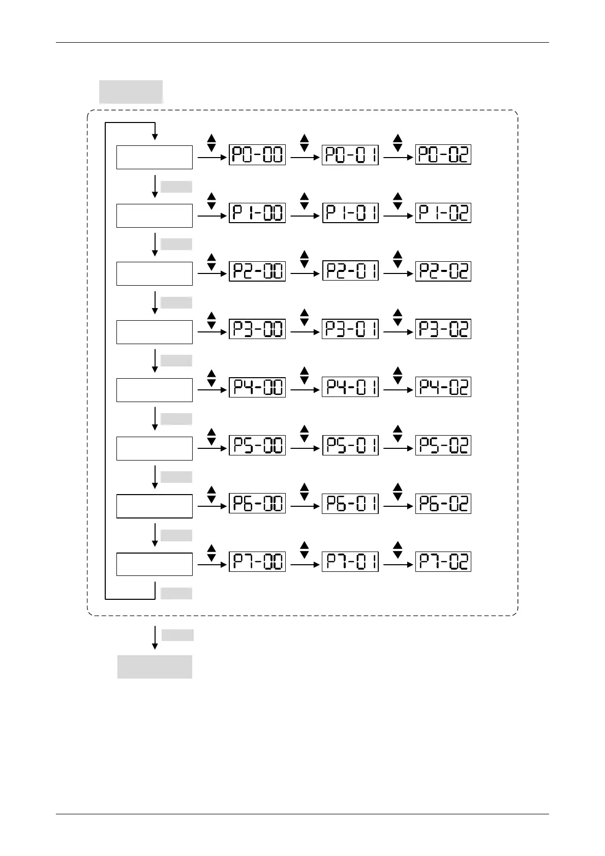
Chapter 4 Panel Display and Operation ASDA-A2
Revision February, 2017 4-3
Parameter Mode
Monitor
Parameter P0
Basic Parameter
P1
Extension
Parameter P2
Communication
Parameter P3
Diagnosis
Parameter P4
Motion Control
Parameter P5
PR Parameter
P6
PR Parameter
P7
Parameter
Mode
‧‧‧
‧‧‧
‧‧‧
‧‧‧
‧‧‧
‧‧‧
‧‧‧
‧‧‧
SHIFT
SHIFT
SHIFT
SHIFT
SHIFT
SHIFT
SHIFT
SHIFT
Monitoring Mode
MODE

Table of Contents

Other manuals for Delta ASD-A2-2023 Series

Related product manuals