EasyManua.ls Logo

Delta ASD-A2-2023 Series

Delta ASD-A2-2023 Series
721 pages
To Next Page IconTo Next Page
To Next Page IconTo Next Page
To Previous Page IconTo Previous Page
To Previous Page IconTo Previous Page
Loading...
ASDA-A2 Chapter 4 Panel Display and Operation
4-4 Revision February, 2017
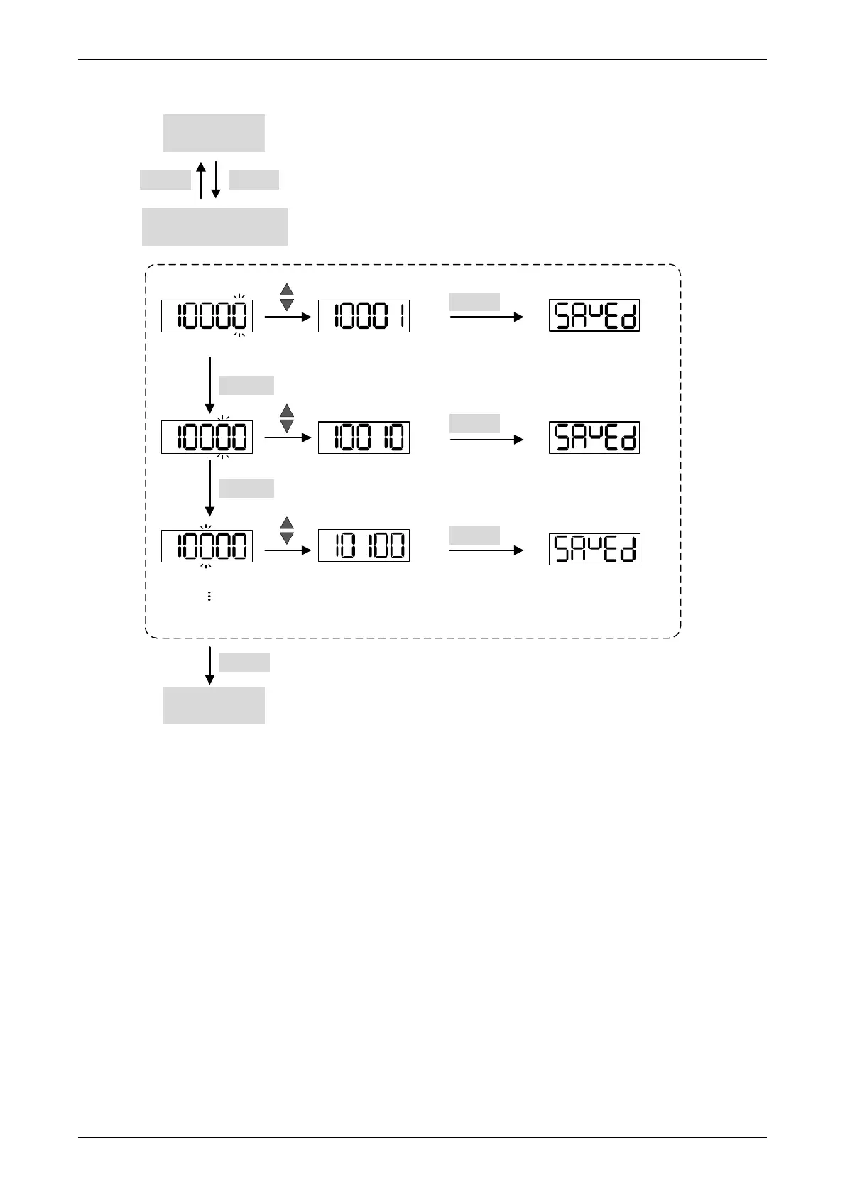
Edit Setting Mode
Parameter
Mode
‧‧‧
Editing Setting Mode
Display parameter setting value
Save the parameter
setting value. Then,
returns to Parameter
Mode.
Monitoring /
Alarm Mode
‧‧‧
‧‧‧
MODE SET
SHIFT
SET
SET
SET
MODE
If no alarm occurs, then the Alarm Mode will be skipped.
Save the parameter
setting value. Then,
returns to Parameter
Mode.
Save the parameter
setting value. Then,
returns to Parameter
Mode.
SHIFT

Table of Contents

Other manuals for Delta ASD-A2-2023 Series

Related product manuals