EasyManua.ls Logo

Delta ASD-B2-0121-B - Page 72

Delta ASD-B2-0121-B
345 pages
Print Icon
To Next Page IconTo Next Page
To Next Page IconTo Next Page
To Previous Page IconTo Previous Page
To Previous Page IconTo Previous Page
Loading...
ASDA-B2 Chapter 3 Wiring
Revision May, 2018 3-33
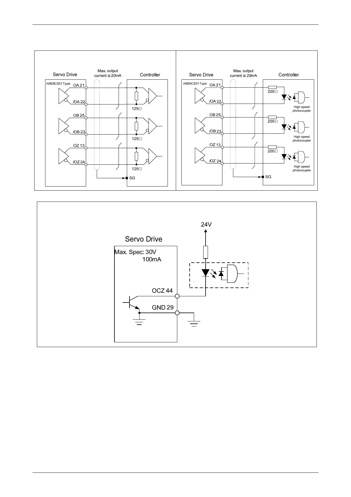
C13: Encoder signal output (Line driver) C14: Encoder signal output (Opto-isolator)
C15: Encoder OCZ output (Open-collector Z-pulse output)

Table of Contents

Related product manuals