EasyManua.ls Logo

Directed Electronics Python 1401 - Smart Start; Panic Mode

Directed Electronics Python 1401
64 pages
Print Icon
To Next Page IconTo Next Page
To Next Page IconTo Next Page
To Previous Page IconTo Previous Page
To Previous Page IconTo Previous Page
Loading...
16
© 2008 Directed Electronics. All rights reserved.
H1/5
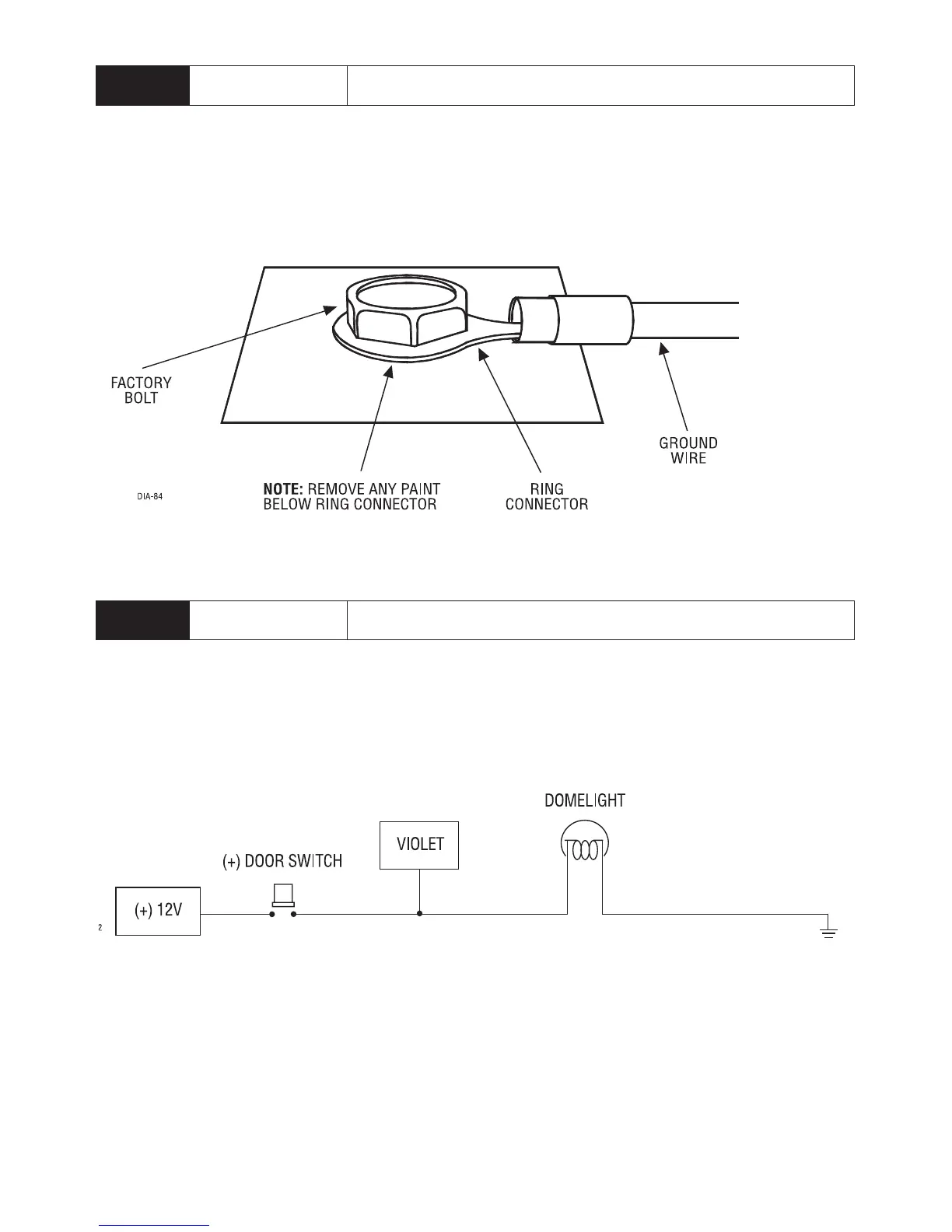
BLACK (-) CHASSIS GROUND
We recommend that you do not use a factory ground. Ground all your compo-
nents to the same point in the vehicle, (preferably the kick panel). Scrape away
any paint and use a factory bolt or make your own ground with a self-tapping
screw and a star washer.
H1/6
VIOLET (+) DOOR TRIGGER INPUT*
This wire is used in vehicles that have a positive (+) switched dome light circuit.
Connect the violet wire to a wire that shows (+)12V when any door is opened,
and ground when the door is closed.
*Door trigger input is needed if one of the following are used: MTS, passive
arming, auto re-locking, door ajar error honk or Smart Key control.

Table of Contents

Other manuals for Directed Electronics Python 1401

Related product manuals