EasyManua.ls Logo

Dolphin 99EX - Installing a Memory Card; Installing a SIM Card

Default Icon
192 pages
Print Icon
To Next Page IconTo Next Page
To Next Page IconTo Next Page
To Previous Page IconTo Previous Page
To Previous Page IconTo Previous Page
Loading...
3 - 17
Installing a Memory Card
Honeywell recommends the use of Single Level Cell (SLC) industrial
grade microSD or microSDHC memory cards with Dolphin terminals for
maximum performance and durability. Contact a Honeywell sales repre-
sentative for additional information on qualified memory card options.
Note: Format all microSD/SDHC cards before initial use.
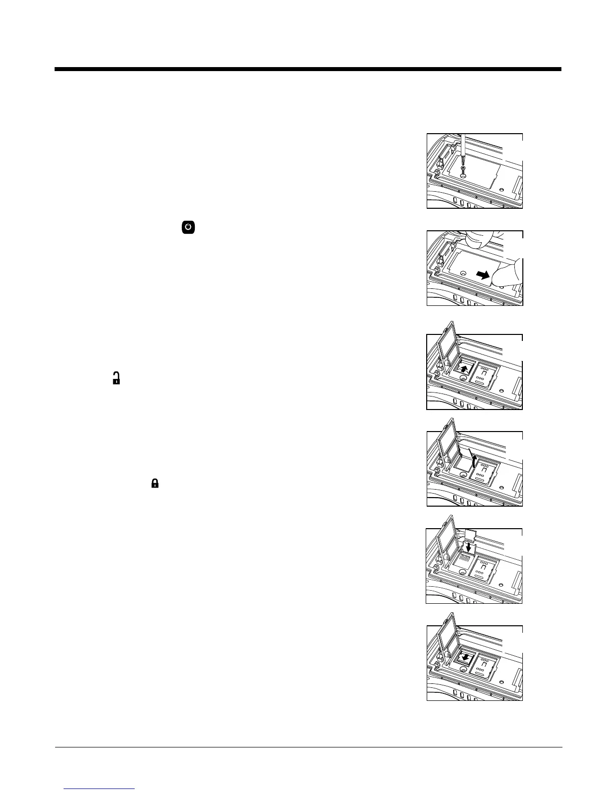
To install a memory card:
1. Press the Power key
to put the terminal in Suspend Mode.
2. Release the hand strap hook near the speaker on the back panel of
the terminal.
3. Remove the battery door.
4. Wait at least 3 seconds, and then remove the battery.
5. Remove the T6 TORX
®
screw securing the protective door closed.
6. Lift up the lower left corner of the door to access the memory
socket.
7. Unlock the access door to the memory socket by sliding the door
toward the IrDA port side of the terminal.
8. Lift the door up to expose the socket.
9. Slide the microSD or microSDHC card into the door of the socket.
Note: Make sure the interface on the memory card is connected to the interface
in the socket; align the notch on the card with the notch of the socket.
10. Close and lock the access door.
11. Close the protective door over the memory socket. Install and
tighten the T6 TORX screw to secure the door closed.
12. Install the battery and the battery door. Reattach the hand strap to
the terminal.
13. Press the Power key or SCAN key to wake the terminal.
Installing a SIM Card
See Installing a SIM Card on page 9-4.
Step 5
Step 7
Step 8
Step 9
Step 6
Step 10

Table of Contents