EasyManua.ls Logo

Doosan D439E - Exhaust Manifold

Doosan D439E
366 pages
Print Icon
To Next Page IconTo Next Page
To Next Page IconTo Next Page
To Previous Page IconTo Previous Page
To Previous Page IconTo Previous Page
Loading...
D439E Service Manual 2. Engine Mechanical System (D439E)
98
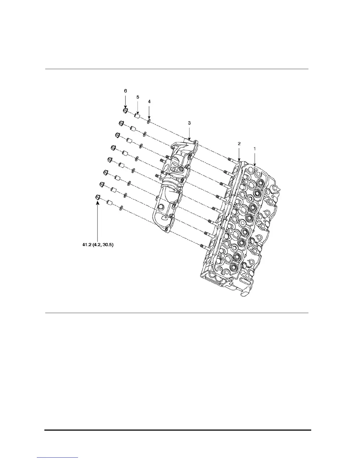
Exhaust Manifold
Components
1. Cylinder head assembly
2. Exhaust manifold gasket
3. Exhaust manifold assembly
4. Plain washer
5. Distance piece
6. Exhaust manifold self lock flange nut (M10 x 1.25)
Tightening Torque : Nm (kgf.m, lb-ft)

Table of Contents

Related product manuals