EasyManua.ls Logo

Dyna-Glo DGSS1382VCS - Page 36

Dyna-Glo DGSS1382VCS
75 pages
Print Icon
To Next Page IconTo Next Page
To Next Page IconTo Next Page
To Previous Page IconTo Previous Page
To Previous Page IconTo Previous Page
Loading...
36
INSTRUCTIONS D’ASSEMBLAGE
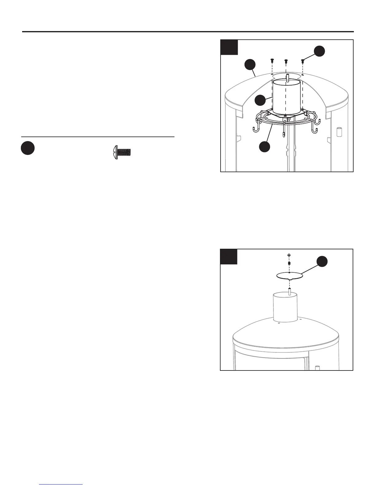
11.
Posez le cercle intérieur des crochets à saucisses
(C) sur les supports inférieurs de la cheminée (Z).
Insérez la cheminée (Z) vers le haut par l’ouverture
au sommet du bâti du fumoir (A) et xez-la à l’aide
de trois (3) boulons M6 x 12 mm (BB).
12. Fixez le clapet d’aération de la cheminée (A1) à
l’aide du ressort et de l’écrou préinstallés.
Z
A1
C
11
12
Matériel utilisé
BB
Boulon
M6 x 12 mm
x 3
BB
A

Related product manuals