EasyManua.ls Logo

Dyna-Glo DGSS1382VCS - Page 57

Dyna-Glo DGSS1382VCS
75 pages
Print Icon
To Next Page IconTo Next Page
To Next Page IconTo Next Page
To Previous Page IconTo Previous Page
To Previous Page IconTo Previous Page
Loading...
57
INSTRUCCIONES DE ENSAMBLAJE
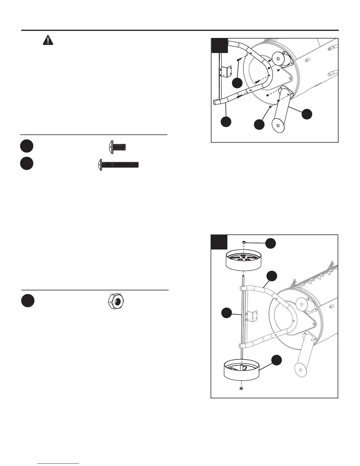
3. PRECAUCIÓN: esta unidad es PESADA. No
intente colocar la unidad de costado sin
ayuda.
Fije la pata frontal derecha y la pata trasera
derecha (M) utilizando tres pernos M6 × 12 (BB)
en cada pata. Fije el conjunto de patas izquierdas
(I) utilizando tres pernos M6 × 45 (CC).
4. Inserte el eje de las ruedas (N) en los oricios del
conjunto de patas izquierdas (I) y je las ruedas
izquierda y derecha (H) utilizando una tuerca M12
(EE) en cada lado.
I
N
M
I
CC
EE
3
4
Herramientas y tornillería utilizadas
CC
Perno
M6 × 45 mm
× 3
Herramientas y tornillería utilizadas
EE
Tuerca M12
× 2
BB
H
BB
Perno
M6 × 12 mm
× 6

Related product manuals