EasyManua.ls Logo

Dynapac CP1200 - Engine Oil, Coolant, and Fuel Service

Dynapac CP1200
82 pages
Print Icon
To Next Page IconTo Next Page
To Next Page IconTo Next Page
To Previous Page IconTo Previous Page
To Previous Page IconTo Previous Page
Loading...
Scheduled Maintenance
2017-11-22 4812325556EN 69
Grease the lower and upper articulated bearings
1. Lubricate the fitting of the upper pivot bearing (1) and the
lower pivot bearing (2) with five applications of the manual
pump.
2. Use the grease in accordance with the recommended
lubricant specifications for Dynapac.
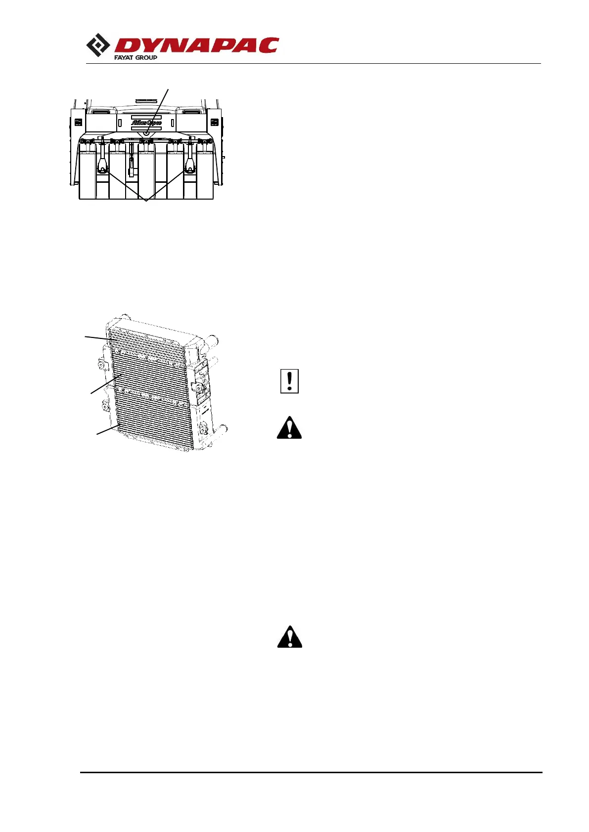
Check and clean the radiators
Make sure that the air flow is passing freely through the
radiators without obstruction. If the hives are dirty, wash them
under running water (the engine is cold) and clean them with
compressed air jets.
When using compressed air, use safety glasses.
Where possible, clean the hives in the opposite
direction to the fan airflow. Every time you flush
the hive, cover the electrical and electronic
components.
Change the diesel engine oil
The engine oil drain plug is located at the rear of the machine
on the lef side. The hose is near the radiators.
Perform the drainage of the oil while the engine is still warm,
place a container with a minimum capacity of 14 liters below the
plug.
Have full caution when performing the oil drain.
Wear gloves and goggles, as hot oil can cause
burns if in contact with skin.
Fig. Articulated bearings
1. Upper pivot bearing grease
2. Lower pivot bearing grease
2
1
Fig. Radiators
1. Charge air cooler
2. Hydraulic oil cooler
3. Water cooler
1
2
3

Related product manuals