EasyManua.ls Logo

Eaton EASY-E4-UC-12RCX1 - Connecting Transistor Outputs; Figure 18: Connecting Base Device Transistor Outputs; Figure 19: Connecting Expansion Device Transistor Outputs

Eaton EASY-E4-UC-12RCX1
621 pages
Print Icon
To Next Page IconTo Next Page
To Next Page IconTo Next Page
To Previous Page IconTo Previous Page
To Previous Page IconTo Previous Page
Loading...
2. Installation
2.4 Connection terminals
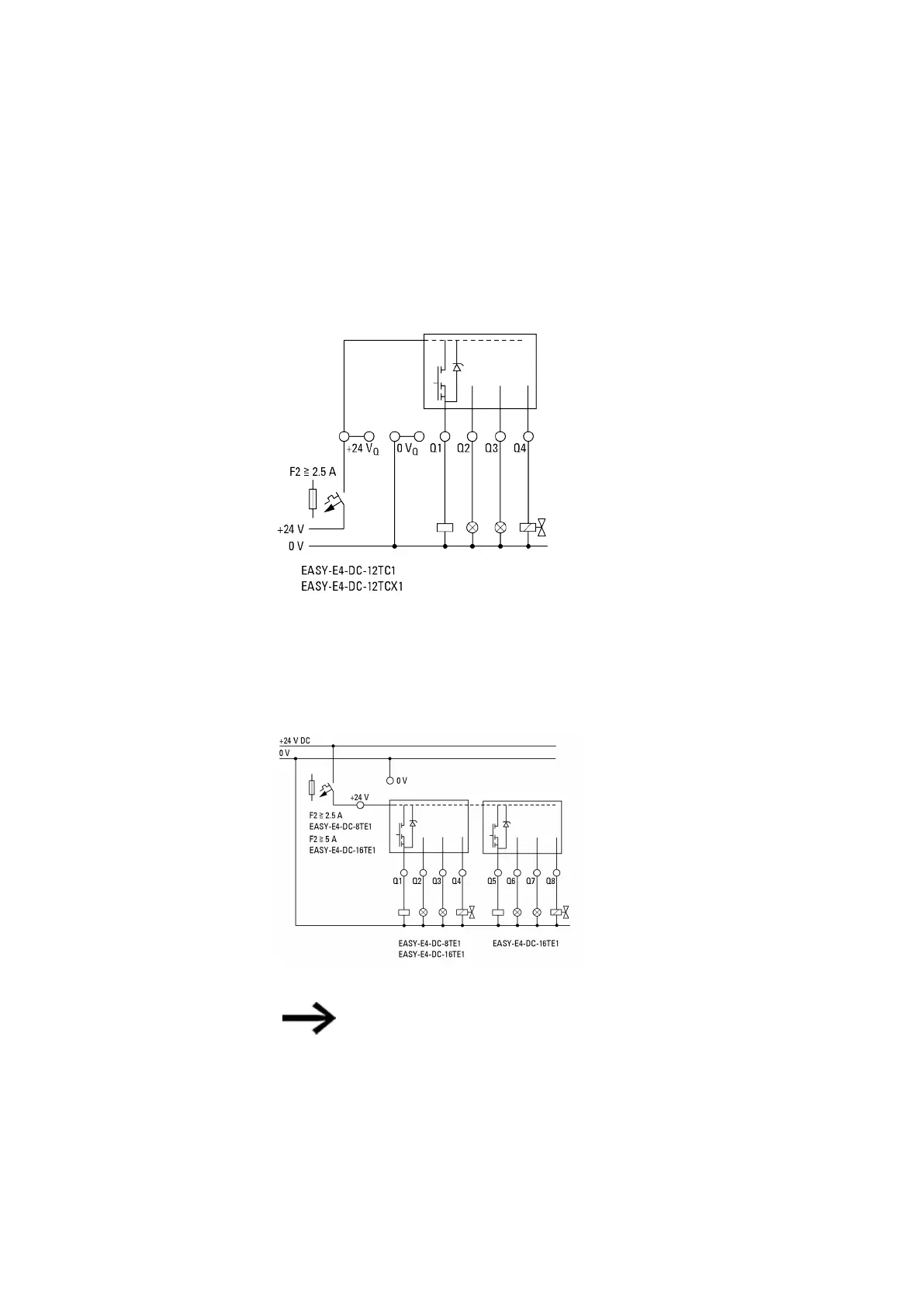
2.4.6 Connecting transistor outputs
EASY-E4-DC-... devices feature transistor outputs.
A separate power supply feed must be provided for the base device transistor outputs.
Figure 18: Connecting base device transistor outputs
Transistor outputs on easyE4 expansion devices are powered via the power supply for
the expansion device. In other words, transistor outputs have the same potential as the
expansion device's inputs.
Figure 19: Connecting expansion device transistor outputs
Suppressor circuit for transistor outputs on EASY-E4-... devices.
Large currents may be produced when inductive loads are switched off. Because of
this, transistor outputs should be protected with a suppressor circuit.
Use a suppressor circuit and observe the following:
Multiple inductive loads should not be switched off simultaneously, as this may result in
the electronic components overheating in the worst-case scenario. If the +24 VDC
power supply is switched off via a contact in the event of an emergency stop, and if
easyE4 11/18 MN050009 EN www.eaton.com
55

Table of Contents

Other manuals for Eaton EASY-E4-UC-12RCX1

Related product manuals