EasyManua.ls Logo

Eaton H-Max Series - Page 19

Eaton H-Max Series
46 pages
To Next Page IconTo Next Page
To Next Page IconTo Next Page
To Previous Page IconTo Previous Page
To Previous Page IconTo Previous Page
Loading...
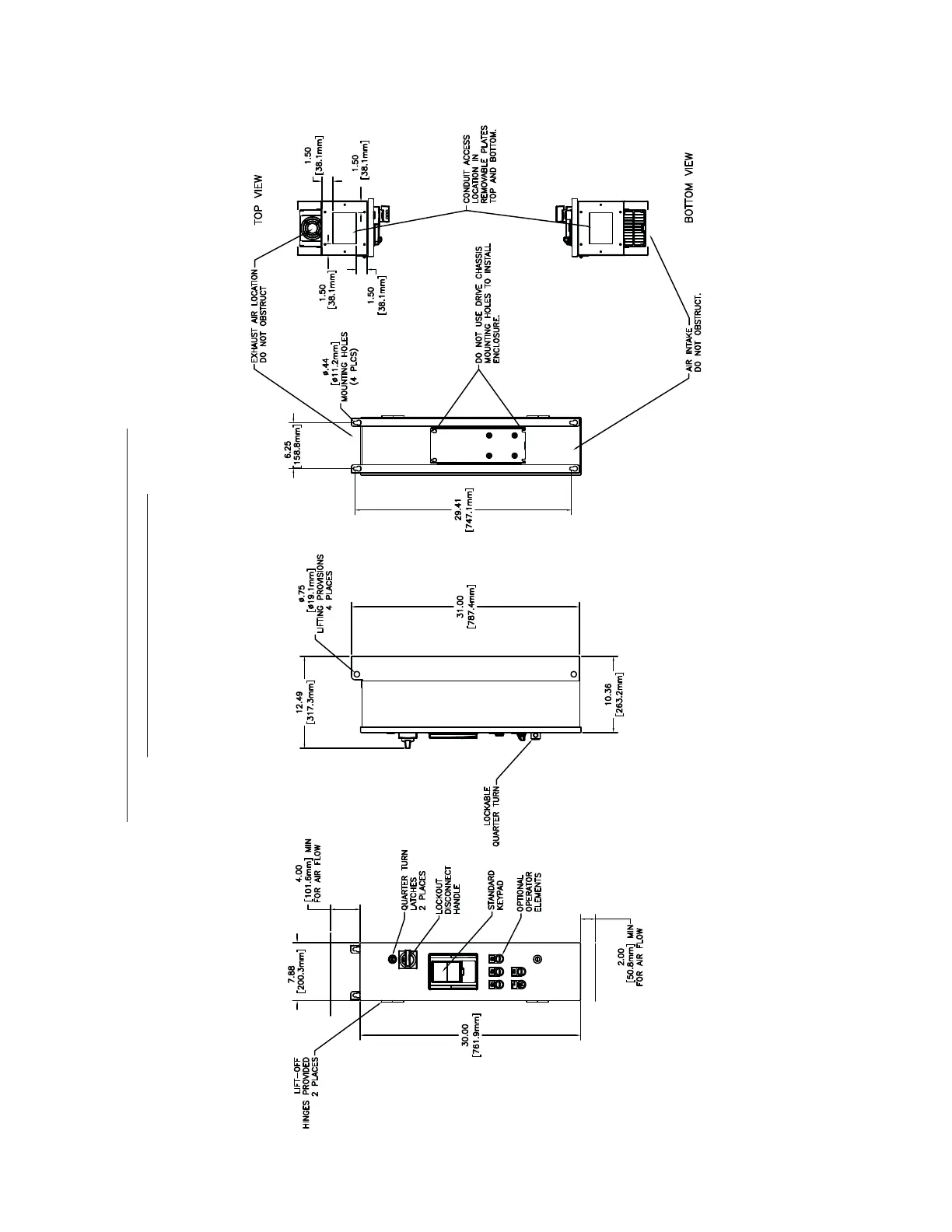
STANDARD ENCLOSURE SIZE 4 TYPE 1/12
DIMENSIONS & MOUNTING
19
Dimensions & Mounting
H-Max Series Drives IntelliPass®/IntelliDisconnect® IL04008003E April 2013 www.eaton.com

Other manuals for Eaton H-Max Series

Related product manuals