EasyManua.ls Logo

Eclipse CD3200 - Disc Media and File Management Rules

Eclipse CD3200
111 pages
Print Icon
To Next Page IconTo Next Page
To Next Page IconTo Next Page
To Previous Page IconTo Previous Page
To Previous Page IconTo Previous Page
Loading...
How to operate the CD/MP3/WMA player
25
IV
ID3/WMA tag
MP3/WMA files have an “ID3 / WMA Tag” that allows input of information so that data such as song
title and artist can be saved.
This main unit supports ID3v. 1.0, 1.1 and WMA tags.
Media
Media capable of playing MP3/WMA includes CD-R and CD-RW discs. Compared to CD-ROM
media commonly used for music discs, CD-R and CD-RW discs are fragile in high temperature/high
humidity environments and one section of the CD-R and CD-RW may become incapable of
playback. Fingerprints or scratches on the disc may prevent playback or cause skipping during
playback. Sections of a CD-R and CD-RW may deteriorate if left inside a vehicle for long periods of
time. It is also recommended that CD-R and CD-RW discs be kept in a light-blocking case because
the discs are vulnerable to ultra-violet light.
Format of discs
The format of discs to be used must be ISO9660 Level 1 or Level 2.
Control items for this standard are as follows:
Maximum layers in directory:
8 layers
Maximum characters for folder names/file names:
32 (including “.” and 3 letter file extension)
Allowable characters for folder names/file names:
A~Z, 0~9, _ (underscore)
Number of files possible on a single disc:
999
Total number of folders possible on a single disc:
255
Maximum folders this main unit can recognize:
256*
*: A root directory is counted as one folder.
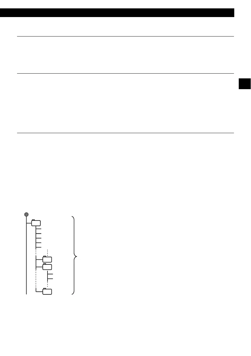
F2
Root directory (F1)
F158
Folder 2
Folder 158
Folder 159
F255
Folder 255
001.mp3
002.mp3
003.mp3
004.txt
005.mp3
001.mp3
002.mp3
F159
[Configuration example for CD supporting MP3/WMA]
Number of files possible on a single disc is 999.Files aside from
MP3/WMA files (Example: 004.txt) also count as single files.

Table of Contents

Other manuals for Eclipse CD3200

Related product manuals