EasyManua.ls Logo

ELECTRABRAKE EB0625 - EB 2000, EB2500 and EB3200 Circuit Diagram

Default Icon
41 pages
Print Icon
To Next Page IconTo Next Page
To Next Page IconTo Next Page
To Previous Page IconTo Previous Page
To Previous Page IconTo Previous Page
Loading...
26
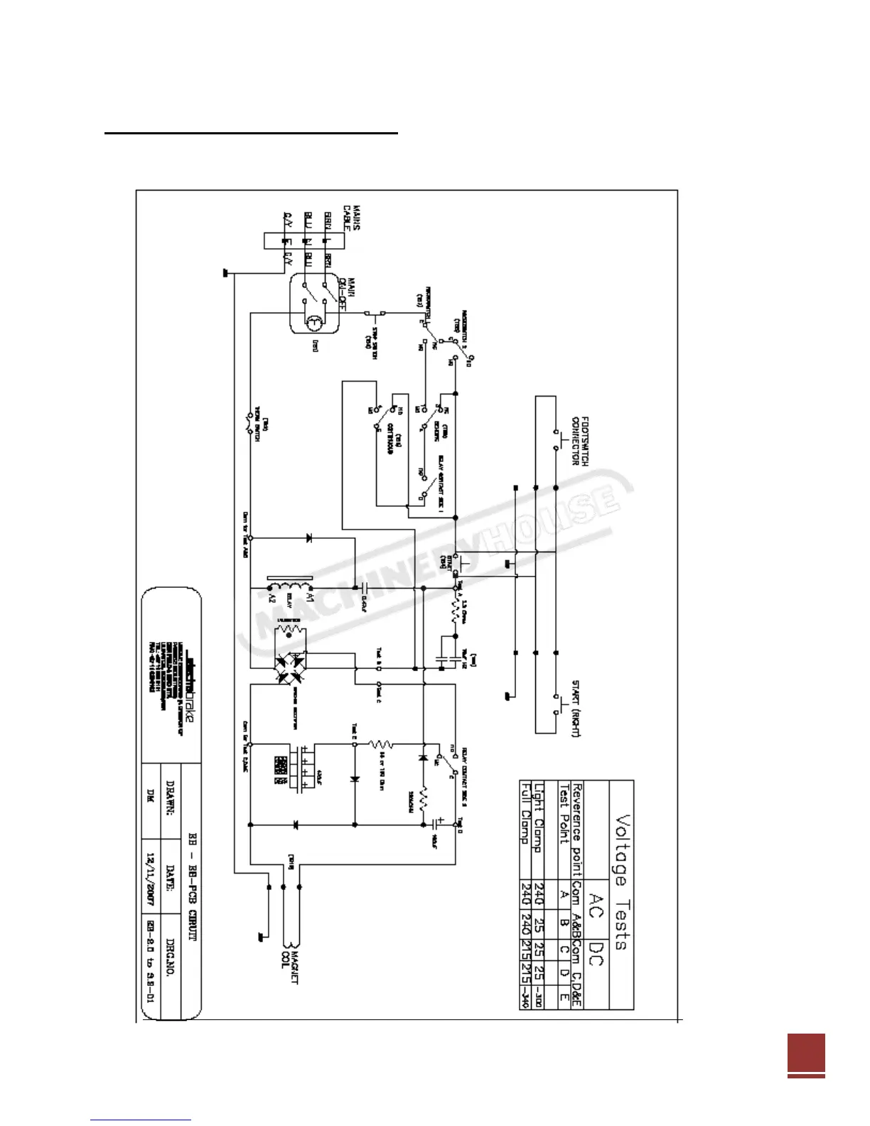
EB 2000-EB3200 CIRCUIT DIAGRAM
26
Instruction Manual for EB2500 (S5321)
24/8/2012