EasyManua.ls Logo

EMC VNXe3200 - Page 24

EMC VNXe3200
44 pages
Print Icon
To Next Page IconTo Next Page
To Next Page IconTo Next Page
To Previous Page IconTo Previous Page
To Previous Page IconTo Previous Page
Loading...
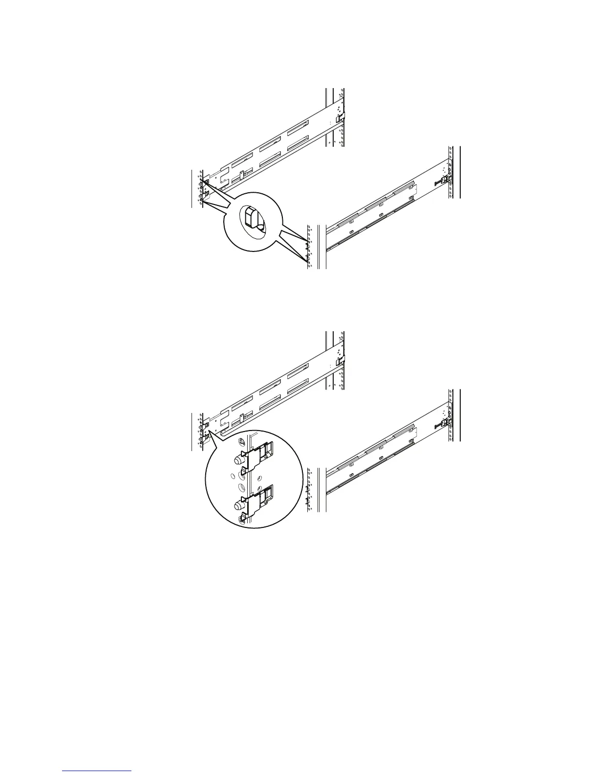
Figure 12 Aligning the Key Tabs
CL5578
2. Holding the rail extended, push the key tabs and the adaptors into the rear mounting
holes until the spring clips snap into place on the outside of the rear rack channel.
Figure 13 Aligning the Rear Adaptors
CL5579
3. Pull the rail forward and align the adaptor with the mounting hole on the front rack
channel. Make sure the rail is level.
Rack and install
24 EMC VNXe2 Series VNXe3200 Installation Guide

Related product manuals