EasyManua.ls Logo

EMKO ESM-9910 - ESM-9910 with Two Relays

EMKO ESM-9910
46 pages
Print Icon
To Next Page IconTo Next Page
To Next Page IconTo Next Page
To Previous Page IconTo Previous Page
To Previous Page IconTo Previous Page
Loading...
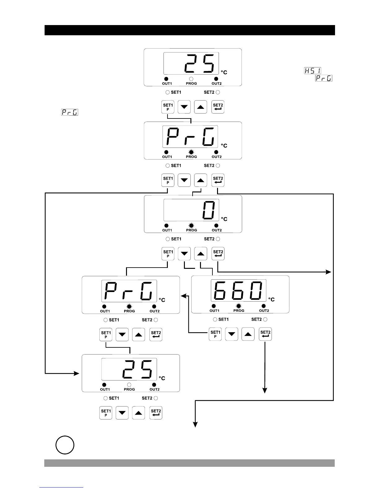
4.5.2 ESM-9910 with Two Relays
Press increment button for
accessing to the password
entering screen
Main Operation Screen
Programming Mode
Entering Screen
Password Entering Screen
Parameters can be
observed by pressing
button, but
parameters can not be
changed.
SET2/Enter
Press SET1
button to exit
programming
mode.
Press SET2/Enter
button for
accessing to the
parameters
Enter programming mode
accessing password with
increment and decrement
buttons
Main Operation Screen
In password entering screen,
press SET1 button to return
the programming mode
entering screen
If no operation is done in programming or Set value mode for 20 seconds, device
turns to main operation screen automatically.
i
When SET1 button is pressed
for 10 seconds, “PROG” led
starts to blink. If programming
mode entering password is
different from 0, programming
mode entering screen
will be observed
Parameters can be
observed by pressing
button, but
parameters can not be
changed.
SET2/Enter
Programming Mode
Entering Screen
Password
Entering
Screen
In password entering
screen, press SET1
button to return the
programming mode
entering screen
Note: If programming mode
accessing password is 0,
hysteresis screen
is observed instead of
programming screen
accessing password
In programming mode
entering screen, press SET1
button to exit from
programming mode and turn
to the main operation screen.
33

Table of Contents

Related product manuals