EasyManua.ls Logo

ep CQD20 - Controls and Displays; Control Panel Controls and Displays

Default Icon
45 pages
Print Icon
To Next Page IconTo Next Page
To Next Page IconTo Next Page
To Previous Page IconTo Previous Page
To Previous Page IconTo Previous Page
Loading...
15
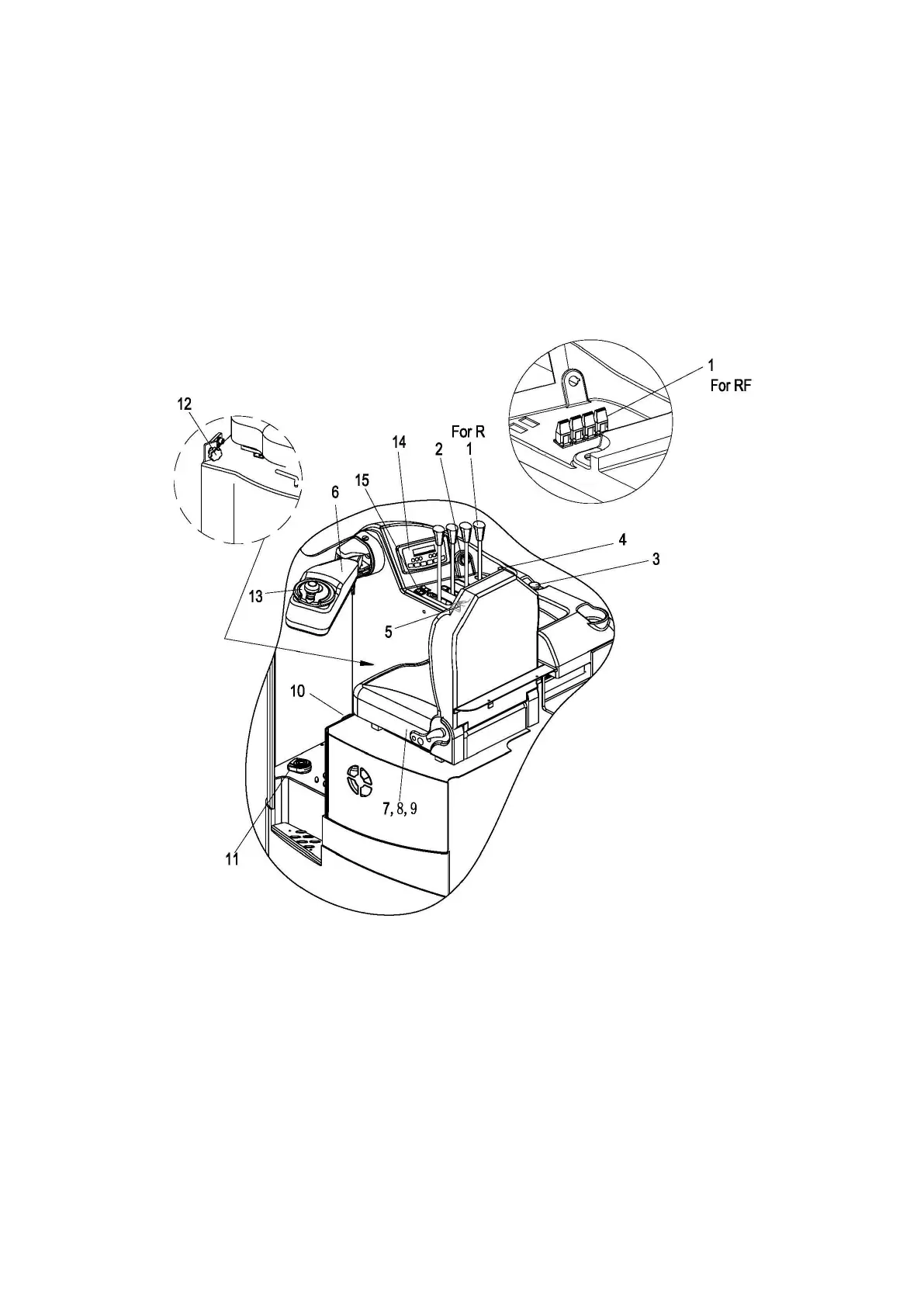
3.2 Controls and Displays
3.2.1 Control panel controls and displays

Related product manuals