EasyManua.ls Logo

ep RPL201 - Control Handle and Key Switch

ep RPL201
73 pages
Print Icon
To Next Page IconTo Next Page
To Next Page IconTo Next Page
To Previous Page IconTo Previous Page
To Previous Page IconTo Previous Page
Loading...
REV. 09/2022
6B
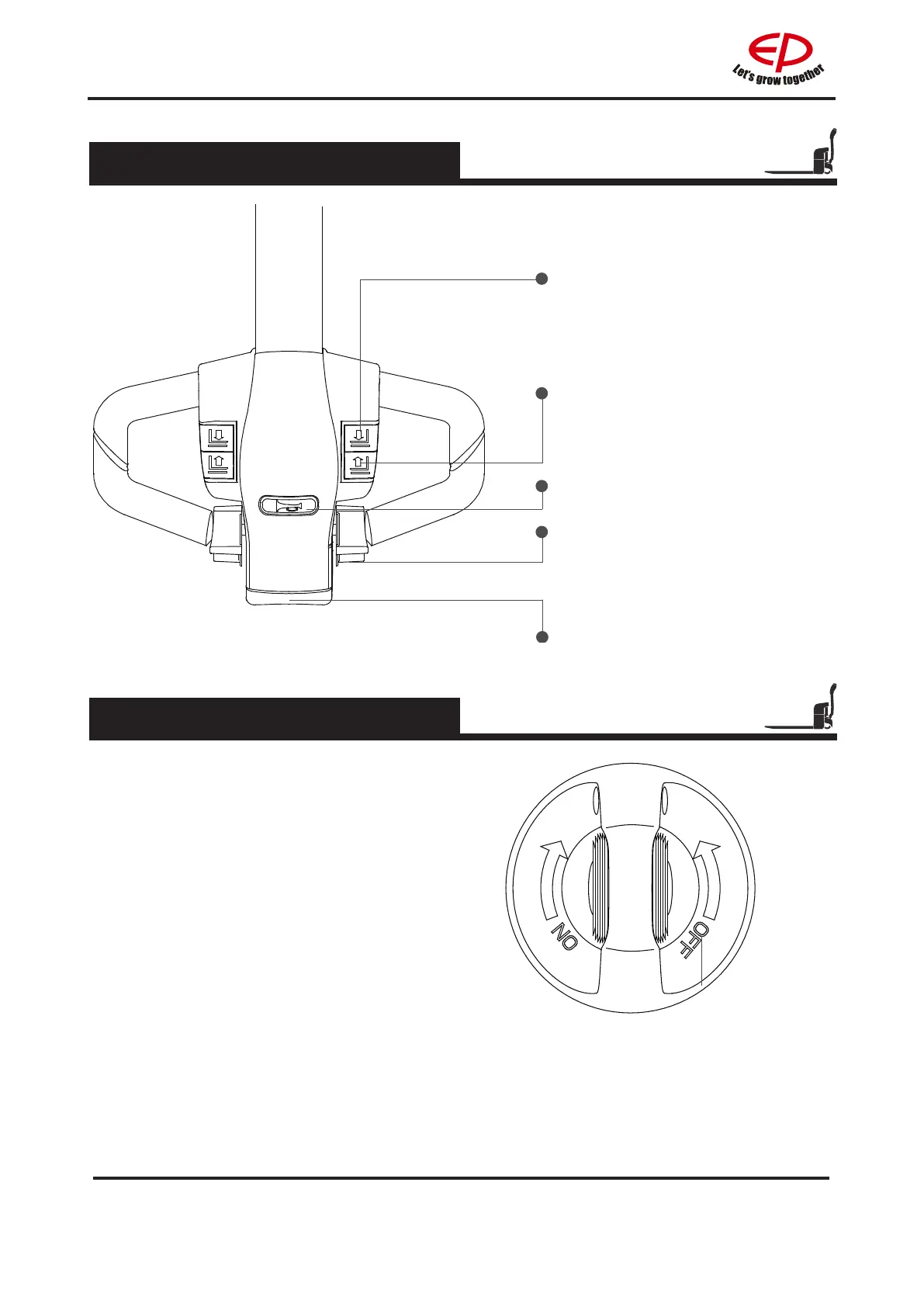
1.2.2 Control handle
Connect and interrupt control current.
• When the key rotates to gear “OFF”, the
control current of the truck will be interrupted;
• When the key rotates to gear “ON”, the control
current of the truck will be connected.
1.2.3 Key switch
Lowering button
Lower loading parts
Lifting button
Lift loading parts
Horn button
Send out sound warning signals
Driving switch
Controls travel direction and speed
Emergency reverse button
Through touching the button, truck
drives away from operator.

Related product manuals