EasyManua.ls Logo

Epson FX 1170 - B/W Dot-matrix Printer - Paper Feed Motor Drive Circuit

Epson FX 1170 - B/W Dot-matrix Printer
138 pages
Print Icon
To Next Page IconTo Next Page
To Next Page IconTo Next Page
To Previous Page IconTo Previous Page
To Previous Page IconTo Previous Page
Loading...
.
REV.-A
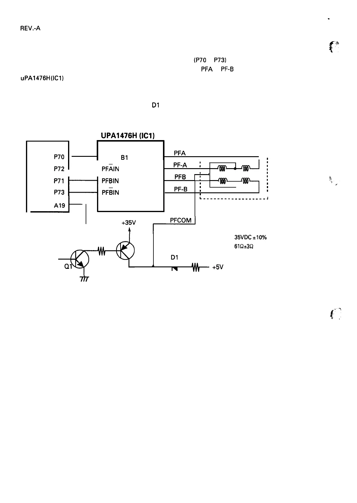
2.3.5 Paper Feed Motor Drive Circuit
{:
%
The PF motor (a stepping motor) is used to advance the paper. The minimum advance rate is 1/216 inch. The
.,,.
,
motor is a 2-2 phase, constant voltage drive motor. CPU ports
(P70
to
P73)
are used to control the PF motor.
Phase data for the PF motor are outputted through these ports.
PFA
to
PF-B
are turned on or off within the
uPA1476H
(lCl) depending on the phase data sent from the CPU.
When there is an output at A19 of the CPU, a +35 V voltage is supplied to the PFCOM terminal of the PF motor.
Otherwise, a +5 V voltage is supplied through
D1
to hold the motor.
CPU
P70
UPA1476H (lCl)
MOTOR
ASSEMBLY, PF
PFAIN
B1
cl
PFA
:
--------
‘-
---
‘-‘-;
1
t
P72
H
PF&N
B2
P71
w
PFBIN
B3
P73
PF~lN
B4
-d-
r
PF-A
:
1
t
C2
1
1
1
PFB
+
1
C3
1
1
1
PF-B
:
1
C4
1
I
1
L---------------
---J
‘3:V
F
<PF MOTOR>
4-ph, 48-p PM type pulse motor
R5
35W)C
*1OYO
61(2=3(2
(per phase) (at
25
“C)
I
D1
R49
Q1
A
u
+5V
Figure 2-28. Paper Feed Motor Drive Circuit
~“”’
. .
.
2-28

Table of Contents

Related product manuals