EasyManua.ls Logo

Erhardt+Leimer OL 80 - 5.3 Determining the light transmitter size and distance M between the light transmitter and camera

Default Icon
32 pages
Print Icon
To Next Page IconTo Next Page
To Next Page IconTo Next Page
To Previous Page IconTo Previous Page
To Previous Page IconTo Previous Page
Loading...
BPage8 BEA--220265-EN-04
CCDarraycameraOptoLineOL80..
5.2.1 Systems with one camera:
5.2.2 Systems with two cameras:
The web must never lie outside the camera measuring range.
TheE+Llighttransmitterisavailablewithone uorescenttube
(FS16.1) andwithtwouorescenttubes(FS16.2).Ifsufcient
spaceisavailable,thelighttransmittershouldalwaysbeusedwith
twouorescenttubes.
Whenselectingthelighttransmitter,pleaseobservethefollowingcri-
teria:
- distanceKbetweenthecameraandweb
- distanceLbetweenthelighttransmitterandweb
- thelighttransmitteroperationalrange
measuringrange=max.webwidth+max.webmovement**+safety*
measuringrange=max.webwidth-min.webwidth+max.webmovement**+safety*
*Dependingontheapplication,asafety
clearanceof50-100mmmustbeal-
lowedforineachcase.
**Onapplicationswithanactuating
element,e.g.pivotingframe,thestroke
mustbetakenintoaccountwithregard
towebmovement.
5.3 Determining the light
transmitter size and dis-
tance M between the light
transmitter and camera
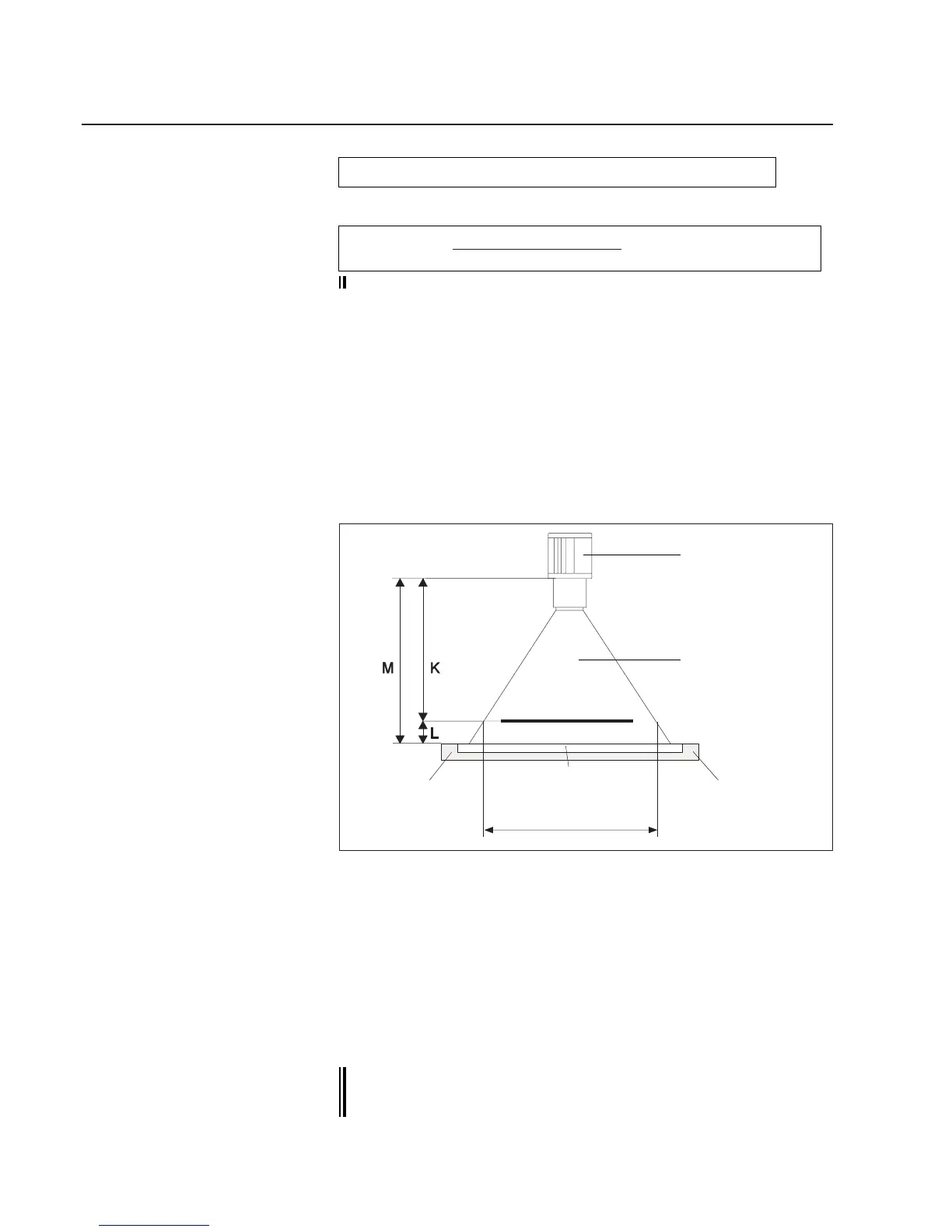
CCDcamera
...notusable
100mm...
Operationalrange
Web
Lighttransmitter
CCDcamera
visualrange
Distances:camera-Lighttransmitter-Web
DistanceKbetweenthecameraandwebisdeterminedbythemea-
suringrange.DistanceLbetweenthelighttransmitterandwebdeter-
minesthescanningprocess.
Whenusingfrontlightingthedistancebetweenthelighttransmitter
andthewebshouldbeasshortaspossibletocapturethemaximum
amountoflight.Thefollowingappliesforbacklighting;theshorter
thedistancebetweenthelighttransmitterandtheweb,thegreater
thedangerofdirtbeingsharplydepictedonthelighttransmitter,
causingincorrectmeasurements.Werecommendaminimumdis-
tanceof100mm.
The camera visual range must always be located in the light
transmitter operational range. On E+L light transmitters, the
outer 100 mm are not usable for the cameras.
Measuringrange
2