EasyManua.ls Logo

ETNA KIV360WIT - Boost Inschakelen; Klaar Met Koken

ETNA KIV360WIT
Print Icon
To Next Page IconTo Next Page
To Next Page IconTo Next Page
To Previous Page IconTo Previous Page
To Previous Page IconTo Previous Page
Loading...
NL 13
Klaar met koken
1. Zet de vermogensstand op nul (0) om de kookzone uit te schakelen. U kunt ook tegelijkertijd
op de - toets en de + toets drukken om de kookzone uit te schakelen.
2. Schakel de inductiekookplaat uit door de Aan/Uit-toets aan te raken.
of
Het symbool H wordt weergegeven op het display van de kookzone, als die te heet is
om te worden aangeraakt. De letter H verdwijnt wanneer het oppervlak is afgekoeld tot
een veilige temperatuur. U kunt ook energie besparen door een nog hete kookzone te
gebruiken om andere pannen te verwarmen.
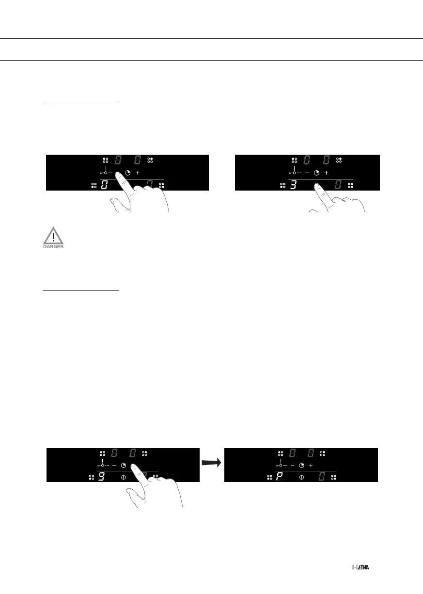
Boost inschakelen
De ‘boost’ functie kunt u gebruiken om gedurende 5 minuten op het hoogste vermogen te koken.
Na het verstrijken van de boosttijd wordt het vermogen automatisch op stand 9 gezet.
1. Zet een pan op een kookzone.
2. Druk op de aan-/uittoets.
3. Druk op de toets van de kookzone die moet worden ingeschakeld om de kookzone te
activeren.
4. Druk op de – toets om vermogensstand ‘9’ in te stellen.
Vermogenstand ‘9’ verschijnt in de display.
5. Druk daarna meteen op de + toets om ‘boost’ in te stellen.
‘P’ verschijnt in de display. Na een aantal seconden worden alle vermogensstanden weer
fel verlicht en de kookzone schakelt in op het allerhoogste vermogen.
BEDIENING

Table of Contents

Related product manuals