EasyManua.ls Logo

ETNA KIV360WIT - Finish Cooking

ETNA KIV360WIT
Print Icon
To Next Page IconTo Next Page
To Next Page IconTo Next Page
To Previous Page IconTo Previous Page
To Previous Page IconTo Previous Page
Loading...
EN 13
Finish cooking
1. Set the cooking power level to zero (0) to turn Off the cooking zone. You can also press the
– key and the + key simultaneously to turn Off the cooking zone.
2. Turn the induction hob Off by touching the On/off key.
or
Symbol H will appear in the display of the cooking zone which is too hot to touch. It will
disappear when the surface has cooled down to a safe temperature. It can also be used
as an energy saving function if you want to heat other pans, use the cooking zone that is
still hot.
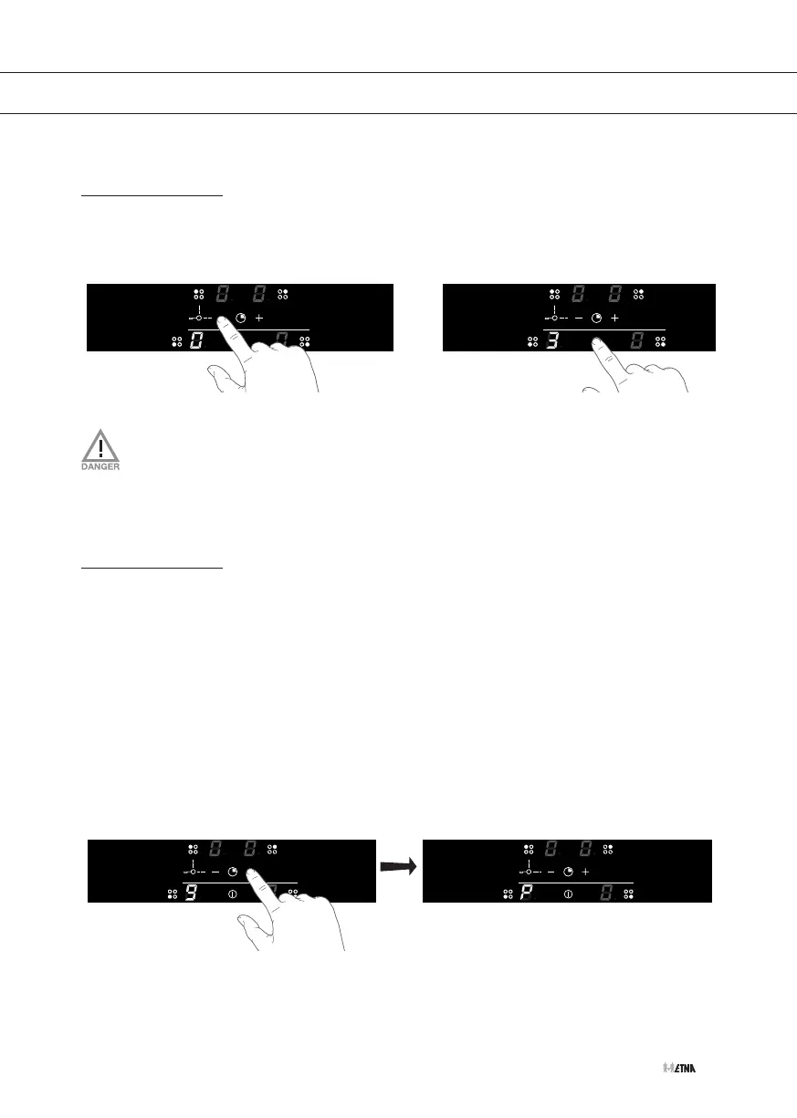
Switching on ‘boost’
You can use the ‘boost’ function to cook at the highest power level for 5 minutes. After the boost
time, the power will be automatically set to setting 9.
1. Place a pan on a cooking zone.
2. Press the On/off key.
3. Press the key of the cooking zone you want to switch on to activate the cooking zone.
4. Press the – key to set the power level to ‘9’.
Power level ‘9’ appears in the display.
5. Then immediately press the + key to select ‘boost’.
‘P’ appears in the display. After a few seconds, all power levels will be brightly lit again
and the cooking zone will switch On at the highest power level.
OPERATION

Table of Contents

Related product manuals