EasyManua.ls Logo

ETNA KIV360WIT - Einschalten der Boost-Funktion; Kochen Beenden

ETNA KIV360WIT
Print Icon
To Next Page IconTo Next Page
To Next Page IconTo Next Page
To Previous Page IconTo Previous Page
To Previous Page IconTo Previous Page
Loading...
DE 13
Kochen beenden
1. Um die Kochzone auszuschalten, stellen Sie Leistung „0“ ein. Zum direkten Ausschalten der
Kochzone können Sie auch die Tasten „–“ und „+“ gleichzeitig gedrückt halten.
2. Schalten Sie das Kochfeld mit der EIN/AUS-Taste aus.
oder
Solange eine Kochzone zu heiß zum Berühren ist, wird H angezeigt. Nach dem Abkühlen
der Zone auf eine sichere Temperatur erlischt diese Anzeige. Sparen Sie Energie! Wenn
Sie mit einem anderen Topf weiterkochen wollen, stellen Sie ihn auf die Kochzone, die
noch heiß ist.
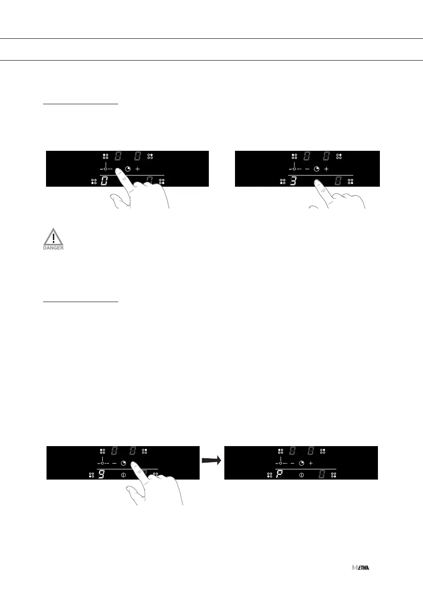
Einschalten der Boost-Funktion
Sie können die „Boost“-Funktion verwenden, um 5 Minuten mit höchster Leistung zu kochen.
Nach Ablauf der maximalen Boost-Zeit wird automatisch auf Leistungsstufe 9 umgeschaltet.
1. Setzen Sie einen Topf auf eine Kochzone.
2. Berühren Sie die EIN/AUS-Taste.
3. Berühren Sie die Taste zum Einschalten der entsprechenden Kochzone.
4. Tippen Sie auf „–“, um Leistungsstufe „9“ einzustellen.
Auf dem Display wird „9“ angezeigt.
5. Tippen Sie direkt danach auf „+“, um auf „Boost“ umzuschalten.
Auf dem Display wird „P“ angezeigt. Nach einigen Sekunden leuchten alle
Leistungsanzeigen wieder hell. Die Kochzone wird mit höchster Leistung eingeschaltet.
BEDIENUNG

Table of Contents

Related product manuals