EasyManua.ls Logo

EWM PHOENIX 421 EXPERT PULS forceArc - Latched Mode

EWM PHOENIX 421 EXPERT PULS forceArc
146 pages
Print Icon
To Next Page IconTo Next Page
To Next Page IconTo Next Page
To Previous Page IconTo Previous Page
To Previous Page IconTo Previous Page
Loading...
Functional characteristics
MIG/MAG welding
Item No.: 099-004833-EWM01 47
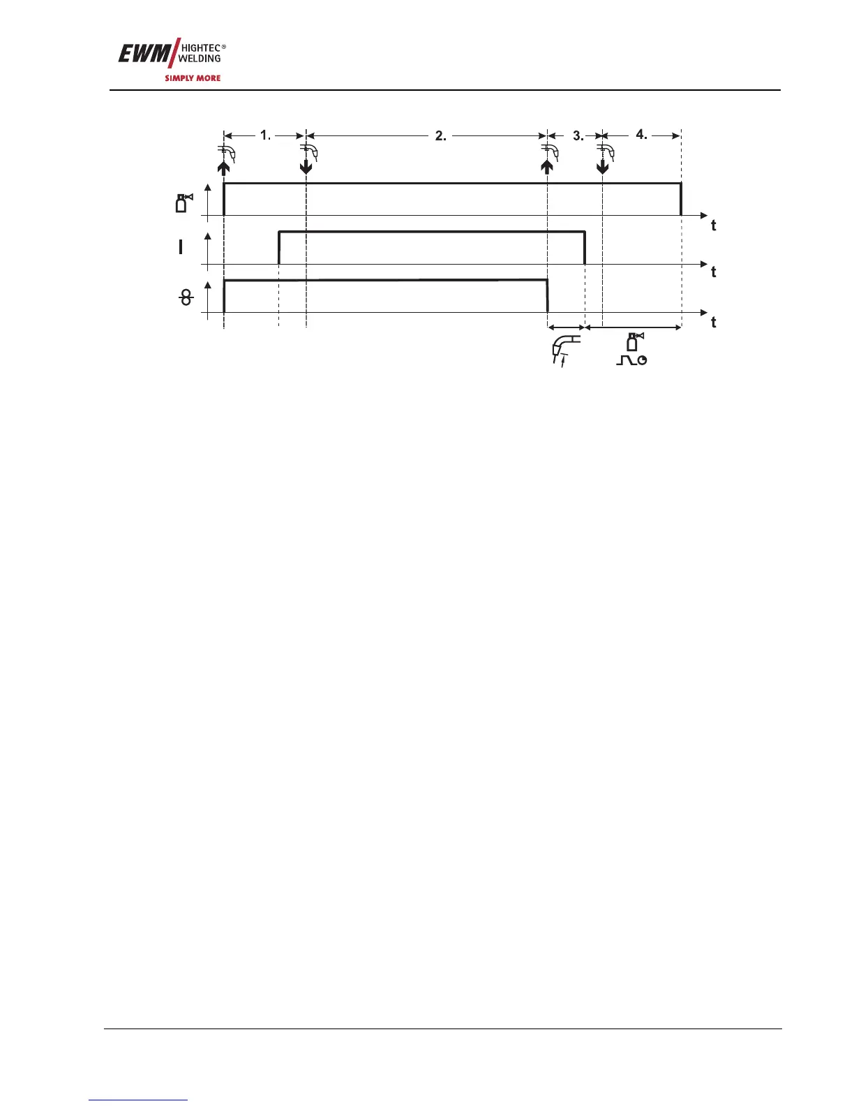
5.2.5.7 Latched mode
Figure 5-13
Step 1
Press and hold torch trigger
Shielding gas is expelled (gas pre-flows)
Wire feed motor runs at “creep speed”.
Arc ignites after the wire electrode makes contact with the workpiece; welding current flows.
Change over to pre-selected WF speed (main program P
A
).
Step 2
Release torch trigger (no effect)
Step 3
Press torch trigger (no effect)
Step 4
Release torch trigger
WF motor stops.
Arc is extinguished after the preselected wire burn-back time expires.
Gas post-flow time elapses.

Table of Contents

Related product manuals