EasyManua.ls Logo

Exmark 30" - Periodic Maintenance; Check Engine Oil Level; Check the Mower Blade

Exmark 30"
36 pages
Print Icon
To Next Page IconTo Next Page
To Next Page IconTo Next Page
To Previous Page IconTo Previous Page
To Previous Page IconTo Previous Page
Loading...
Maintenance
MaintenanceService
Interval
MaintenanceProcedure
Every300hours
Replacethepaperairlter.(Mayneedmoreoftenindustyconditions.SeetheEngine
manualforadditionalinformation.)
Yearlyorbeforestorage
Emptythefueltankbeforerepairsasdirectedorbeforestorage.
PeriodicMaintenance
CheckEngineOilLevel
ServiceInterval:Beforeeachuseordaily
1.Stopengineandwaitforallmovingpartstostop.
Makesureunitisonalevelsurface.
2.Checkwithenginecold.
3.Cleanareaarounddipstick.Removedipstickand
wipeoiloff.Reinsertthedipstickandpushitall
thewaydownintothetube.DoNotscrewinto
place.Removethedipstickandreadtheoillevel.
4.Iftheoillevelislow,wipeofftheareaaroundthe
oilllcap,removecapandlltothe“FULL
markonthedipstick.Exmark4-CyclePremium
EngineOilisrecommended;refertotheEngine
Owner'smanualforanacceptablealternative.Do
Notoverll.
Important:DoNotoperatetheenginewiththe
oillevelbelowthe“LOW”(orADD”)markon
thedipstick,oroverthe“FULLmark.
ChecktheMowerBlade
ServiceInterval:Beforeeachuseordaily
Alwaysmowwithasharpblade.Asharpbladecuts
cleanlyandwithouttearingorshreddingthegrass
blade.
1.Stoptheengineandwaitforallmovingpartsto
stop.
2.Disconnectthewirefromthesparkplug
(
Figure7).
3.Drainthegasolinefromthefueltank.Referto
EmptyingtheFuelTankandCleaningthe
FuelFiltersection.
4.Removethebaggerfromtheunit.Tipthe
machinebackwardsuntiltheupperhandlerests
onthegroundandplaceajackstandunderthe
unit.
CAUTION
Raisingthemowerforserviceormaintenance
relyingsolelyonmechanicalorhydraulic
jackscouldbedangerous.Themechanicalor
hydraulicjacksmaynotbeenoughsupport
ormaymalfunctionallowingtheunittofall,
whichcouldcauseinjury.
DoNotrelysolelyonmechanicalorhydraulic
jacksforsupport.Useadequatejackstands
orequivalentsupport.
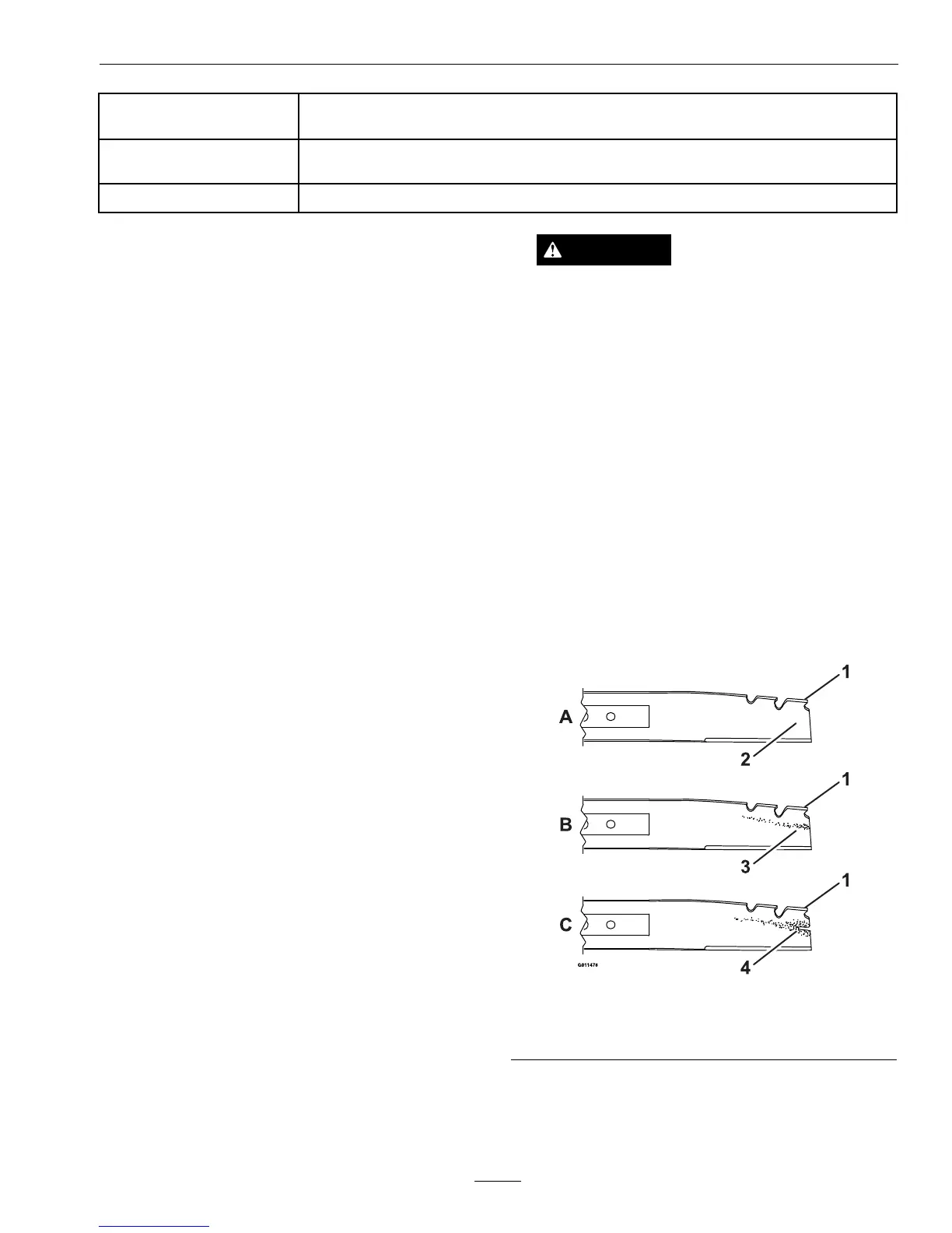
5.Inspectthebladesforsharpnessandwear,
especiallywheretheatandthecurvedparts
meet(seeFigure18).Becausesandandabrasive
materialcanwearawaythemetalthatconnects
theatandcurvedpartsoftheblade,check
thebladebeforeusingthelawnmower.Ifyou
noticeaslotorwear(
Figure18BandFigure18C),
replacetheblade.
Figure18
1.Sail
3.Wear
2.Flat
4.Slot
21

Related product manuals