EasyManua.ls Logo

Farfisa TK95 - Stop Recording; Playback Recording; Delete User Song

Default Icon
52 pages
Print Icon
To Next Page IconTo Next Page
To Next Page IconTo Next Page
To Previous Page IconTo Previous Page
To Previous Page IconTo Previous Page
Loading...
R e c _ F u l l
R e c S o n g 1
D e l e t e ?
32
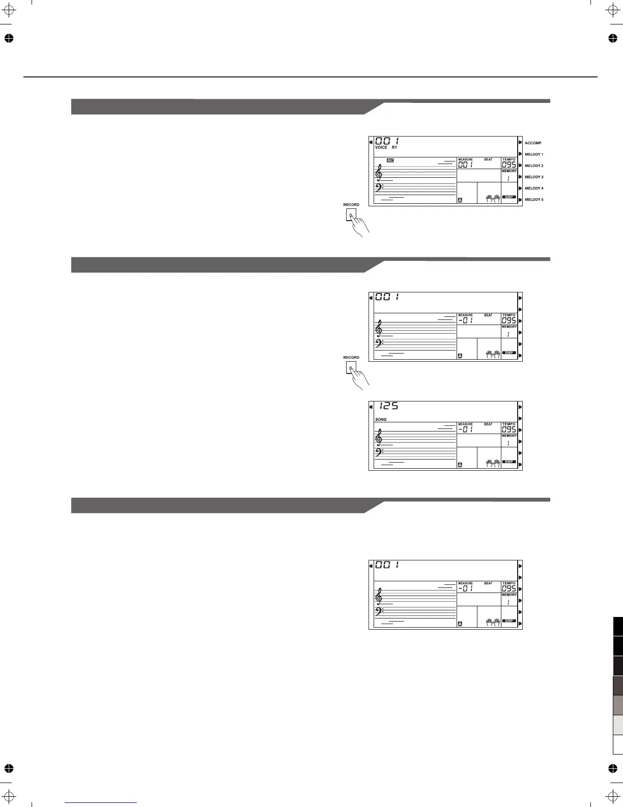
Stop Recording
When recording is in process, you can press [RECORD]
button to stop recording.
When recording is in process, if the memory is full, the
recording will stop and save automatically, the LCD
displayed "Rec_Full".
If you choose the accomp recording, the recording will
stop automatically when the ending of rhythm is finished.
2.
1.
3.
Playback Recording
Delete User Song
Pressing and holding [RECORD] and [SONG] button together
and turn power on simultaneously, the user song will be erased.
In the recording preparation status, pressing and holding
[RECORD] button for two second, the LCD will display Delete? ,
Press the button to select
the track you want to delete, when the track cursor is lightened,
it indicated that the track data you want to delete, otherwise, it
indicated that the track date you want to keep. If all the track
cursor are lightened, the whole user song will be erase after
comfirm.
Choose the track you want to delete, press [+/YES] to confirm
and the recorded data in this track will be erased, press [-/NO]
to quit this step, and back to the recording preparation status.
" "
"Accomp" (or "Melody2" to "Melody 5")
2.
1.
Song Recording
Press [RECORD] button when recording is in process,it will
stop recording and enter the song play mode, and the current
recorded song will play automatically in circle.
Press the [SONG] button to enter the song mode and it will play
all songs circularly. Use the Data Dial, [+/YES] or [-/NO] button
to select a song, there are 125 songs in all, including 5 user songs
(1-5). If there is no data in the selected user song, it will play "No
file" and stop playing. You can also select one user song in song
stop playing mode, press [PLAY/STOP] button, this user song
will play circularly.
2.
1.
3.
N o F i l e !
0
5
25
75
95
100
aw_A800_Manual_G06_111206
2011󾾠󾾠12󾾠󾾠6󾾠󾾠 9:01:19

Table of Contents

Related product manuals