EasyManua.ls Logo

Fibocom L831-EAU-01 - Module Start-Up

Fibocom L831-EAU-01
39 pages
Print Icon
To Next Page IconTo Next Page
To Next Page IconTo Next Page
To Previous Page IconTo Previous Page
To Previous Page IconTo Previous Page
Loading...
Reproduction forbidden without Fibocom Wireless Inc. written authorization - All Rights Reserved.
L831-EAU-01 Hardware User Manual Page
18
of
39
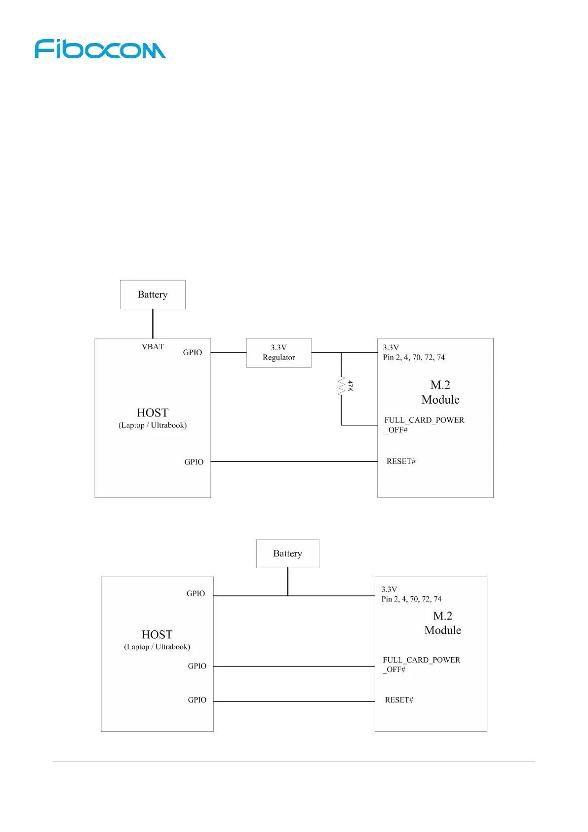
3.3.1 Module Start-Up
3.3.1.1 Start-up Circuit
By pulling up 1.8V/3.3V voltage externally, the module power-on pin FULL_CARD_POWER_OFF# can
power on, while the pull-up voltage VDD (1.8V/3.3V) is provided externally. The module provides two
power-on modes:
AP (Application Processor) controls 3.3V power module for powering on, the recommended circuit
design is shown in Figure 3-3:
Battery-powered, AP controls FULL_CARD_POWER_OFF# module for powering on, the
recommended circuit design is shown in Figure 3-4:
Figure 3-3 Power-on Circuit of AP Controlling 3.3V Power Module
Figure 3- 4 Power-on Circuit of AP Controlling FULL_CARD_POWER_OFF# Module

Related product manuals