EasyManua.ls Logo

Fluke CombiScope PM3370B - Page 152

Fluke CombiScope PM3370B
297 pages
Print Icon
To Next Page IconTo Next Page
To Next Page IconTo Next Page
To Previous Page IconTo Previous Page
To Previous Page IconTo Previous Page
Loading...
4 - 52 COMMAND REFERENCE
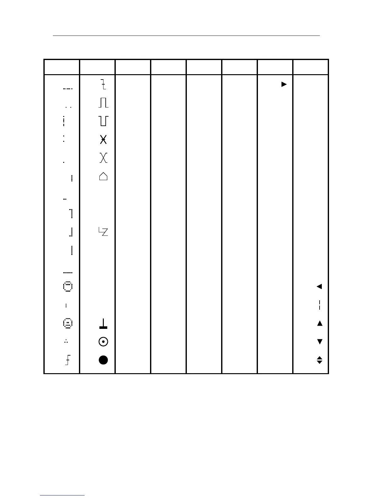
Table 4.1 Display character set for CombiScope instruments
Notes: - The left value (dec) is the decimal value of the code and the right value
(sym) is the oscilloscope symbol.
- The displayed symbol for the decimal values 128 to 255 is equal to the
symbol display for the decimal values 0 to 127.
Example: Decimal value 200 = decimal value 72 (200-128) = symbol H.
- For the PM33x0B CombiScope instruments the $ symbol (dec. 36) is
replaced by the
E
T
symbol (External Trigger)
dec sym dec sym dec sym dec sym dec sym dec sym dec sym dec sym
0163248064@80P96112p
11733!49165A81Q97a113q
21834"50266B82R98b114r
31935#51367C83S99c115s
4 20 36 $ 52 4 68 D 84 T 100 d 116 t
5 21 37 % 53 5 69 E 85 U 101 e 117 u
622°38 & 54 6 70 F 86 V 102 f 118 v
723µ39 55 7 71 G 87 W 103 g 119 w
8 24 40 ( 56 8 72 H 88 X 104 h 120 x
92541 ) 57 9 73 I 89 Y 105 i 121 y
10 26 42 * 58 : 74 J 90 Z 106 j 122 z
11 27 43 + 59 ; 75 K 91 [ 107 k 123
12 28
~
44 , 60 < 76 L 92 \ 108 l 124
13 29 45 - 61 = 77 M 93 ] 109 m 125
14 30 46 . 62 > 78 N 94 ^ 110 n 126
15 31 47 / 63 ? 79 O 95 _ 111 o 127

Table of Contents

Related product manuals