EasyManua.ls Logo

Frontier SB1174 - Manual Rotation Kit Installation (5 RDF0046)

Frontier SB1174
56 pages
Print Icon
To Next Page IconTo Next Page
To Next Page IconTo Next Page
To Previous Page IconTo Previous Page
To Previous Page IconTo Previous Page
Loading...
ASSEMBLY
OM 0408SB1174-A
17
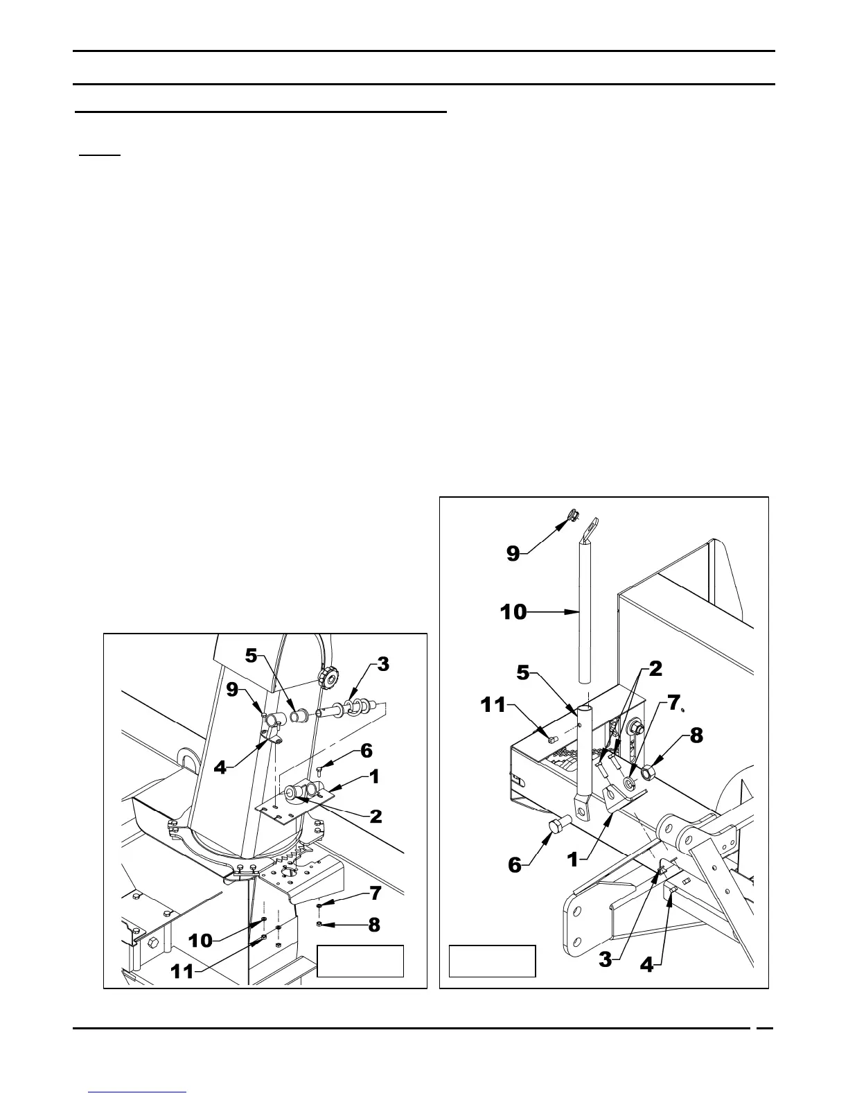
Installation of Manual Rotation Kit 5RDF0046
(Figures 6-7-8-9)
NOTE
: The rotation handle can be installed on
the right or left side of the three point hitch.
1. Install the chute according to the instructions
contained in the snowblower Operator's
Manual, with the four 1/16" thick spacers
provided with the 5RDF0046 kit.
2. Figure 6: Install the rotation tube support (item
1) on the chute base. Secure using a 1/4"NC x
3/4" bolt, a 1/4" lockwasher and a 1/4"NC nut
(items 6-7-8). Do not tighten.
3. Figure 6: Insert a 1 5/16" plastic bushing (item
2) in the rotation tube support (item 1), then
insert the rotation worm (item 3).
4. Figure 6: Insert the other 1 5/16" plastic
bushing (item 5) in the rotation worm support
(item 4), and then slide on the rotation worm.
Secure with two 1/4"NC x 3/4" bolts and
1/4"NC nuts (items 9-10-11). Do not tighten.
5. Figure 7: Install the bracket (item 1) on the 3
point right or left hitch using two 3/8"NC x
1 1/4" bolts, 3/8" lockwashers and 3/8"NC nuts
(items 2-3-4). Tighten securely.
6. Figure 7: Install handle support bracket
(item 5) on the bracket (item 1) using a
3/4’’NC x 1 1/2’’ bolt, 3/4’’lockwasher and
3/4’’NC nut (items 6-7-8). Do not tighten.
7. Figure 7: Install the plastic grommet
(item 9) in the handle support (item 10).
8. Figure 7: Insert handle support (item 10)
inside the handle support bracket (item 5).
Fasten loosely with a 3/8"NC x 1/2’’ square
head set screw (item 11).
Figure 6 Figure 7

Related product manuals