EasyManua.ls Logo

Frymaster 8196428 - Tilt Switch Wiring; Terminal Block Wiring

Frymaster 8196428
40 pages
Print Icon
To Next Page IconTo Next Page
To Next Page IconTo Next Page
To Previous Page IconTo Previous Page
To Previous Page IconTo Previous Page
Loading...
1-16
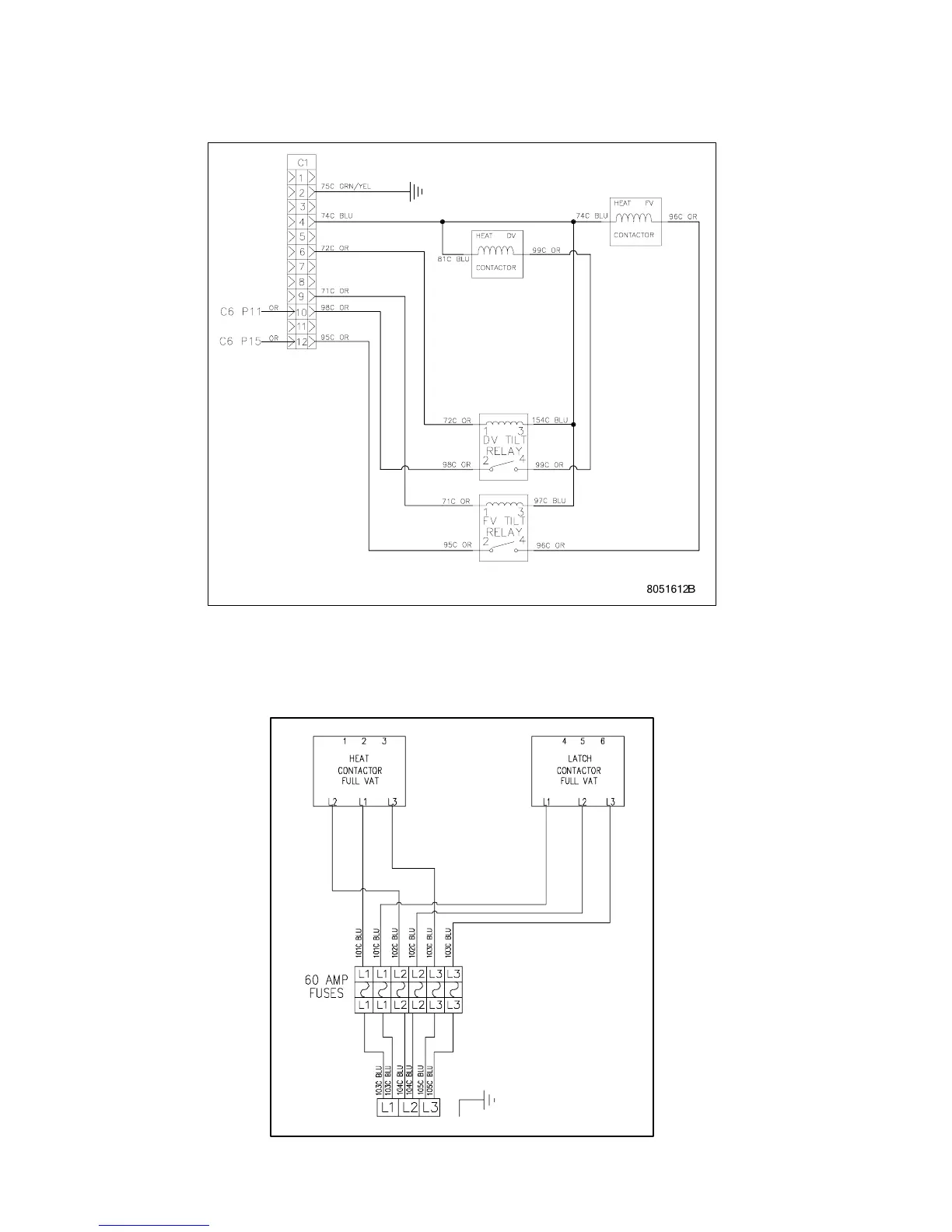
1.12.2 Tilt Switch Wiring
1.12.3 Terminal Block Wiring

Related product manuals