EasyManua.ls Logo

Fujitsu ASU12RLF1 - External Input and Output PCB

Fujitsu ASU12RLF1
328 pages
Print Icon
To Next Page IconTo Next Page
To Next Page IconTo Next Page
To Previous Page IconTo Previous Page
To Previous Page IconTo Previous Page
Loading...
¢
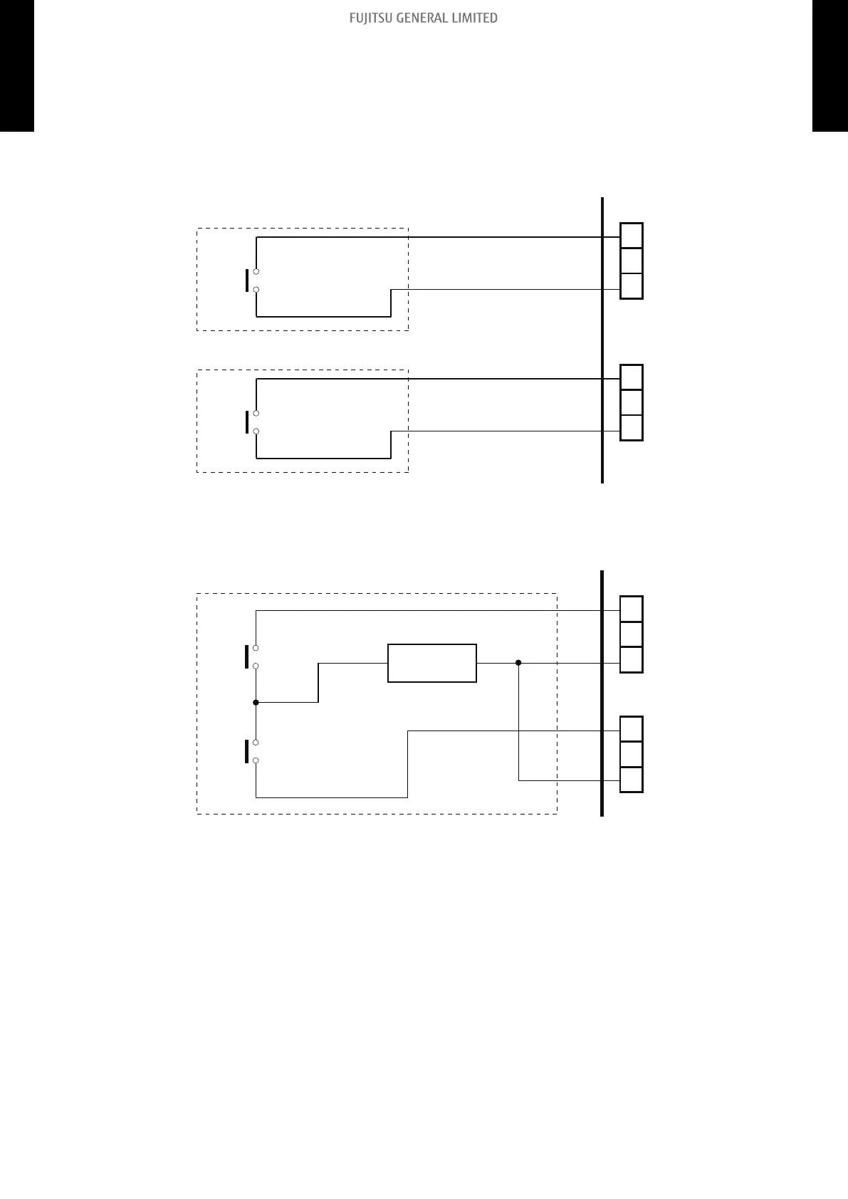
External Input and Output PCB
The indoor unit Operation/Stop can be set by using the input connector on the PCB.
Input select:
Use either one of these types of connectors according to the application. (Both types of connec-
tors cannot be used simultaneously.)
Dry contact
In case of internal power supply, set the slide switch of SW301 to "NON VOL" side.
1
2
3
Input 1
PCB
Connected unit
*
+
-
1
2
3
Input 2
*
+
-
Connector
(CN313)
Connector
(CN314)
*1: The switches can be used on the following condition: DC 12 V to 24 V, 1 mA to 15 mA.
Apply voltage
In case of external power supply, set the slide switch of SW301 to "VOL" side.
1
2
3
Input 1
Power supply
PCB
Connected unit
*
*
*2
+-
1
2
3
Input 2
Connector
(CN313)
Connector
(CN314)
*1: The switches can be used on the following condition: DC 12 V to 24 V, 1 mA to 15 mA.
*2: Make the power supply DC 12 to 24 V, 10 mA or more.
- 128 -
13-1. External input 13. External input and output (LPAS series wall mounted type indoor unit)
MULTI-SPLIT TYPE
5-unit type
MULTI-SPLIT TYPE
5-unit type

Table of Contents

Other manuals for Fujitsu ASU12RLF1

Related product manuals