EasyManua.ls Logo

FULTON 60E - Page 39

FULTON 60E
44 pages
Print Icon
To Next Page IconTo Next Page
To Next Page IconTo Next Page
To Previous Page IconTo Previous Page
To Previous Page IconTo Previous Page
Loading...
GFSE-Std-0499
5 5
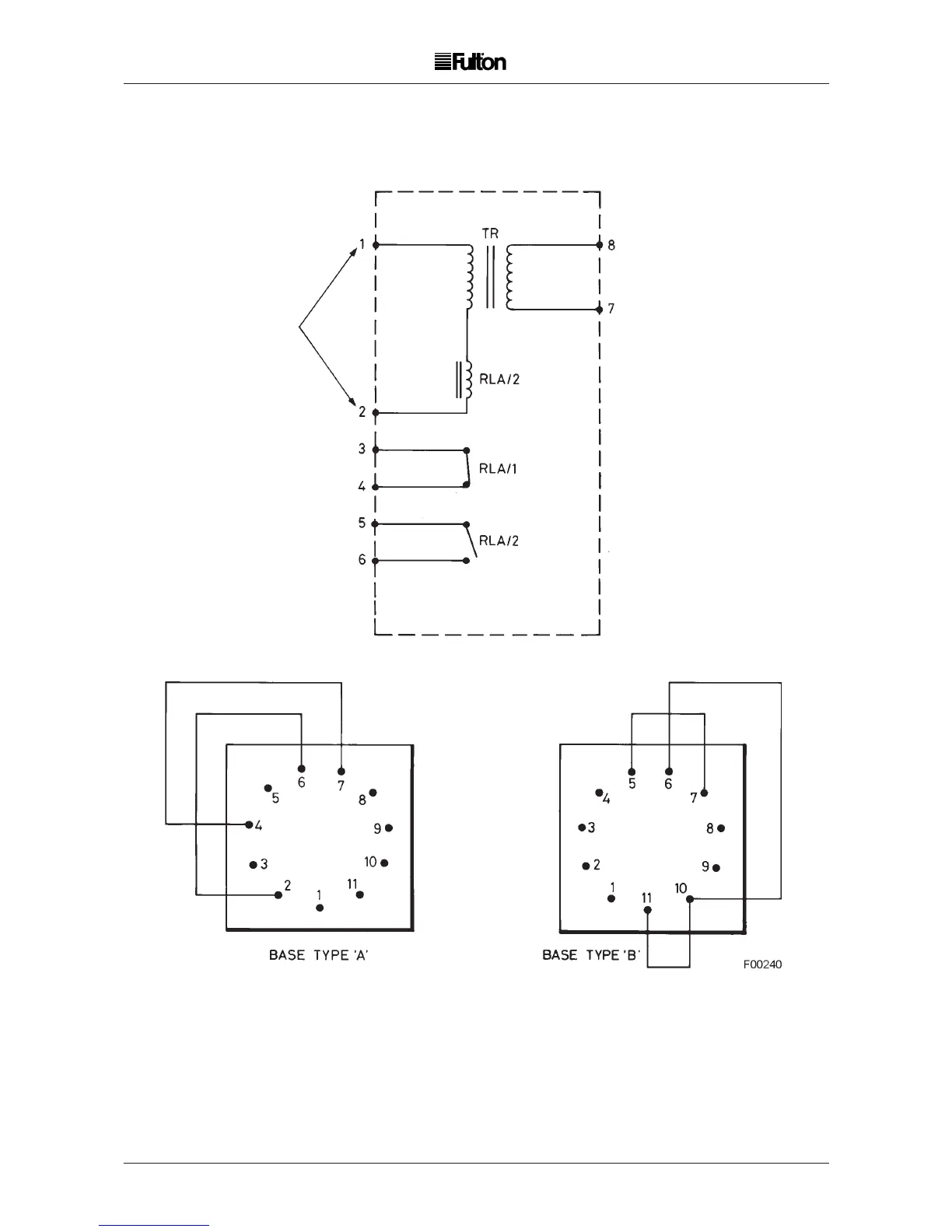
Note: A common base is supplied for
type A & B controller bases. Links
must be fitted as per Fig. 21.
FIG. 21 TYPE LC1 LEVEL CONTROLLER
34
MAINS
INTERNAL
SCHEMATIC
SENSING
INTERNAL BASE WIRING

Related product manuals