EasyManua.ls Logo

FUTABA CGY755 - Page 54

FUTABA CGY755
112 pages
Print Icon
To Next Page IconTo Next Page
To Next Page IconTo Next Page
To Previous Page IconTo Previous Page
To Previous Page IconTo Previous Page
Loading...
55
Cond
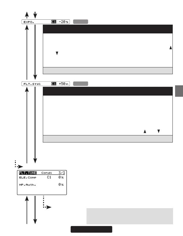
(5) EXPO.: Exponential
Tune the exponential as desired to change the feel of the cyclic con-
trols around center stick. Negative values soften control feel; Positive
values increase sensitivity. The exponential rate is set by using the [
/
+] or [
/
-] key.
Note: that any exponential present in the TRANSMITTER adds to the
value set in the CGY.
Setting ranges: -100 ~ 0 ~ +100% Initial value: -20%
(6) FLT. Styl: Flight style
Increasing this value will create a more robotic reaction to the stick,
leaving the pilot with the impression that the model is locked into in a
position after an input. It will also tend to have a more calculated feeling
when making inputs.
-Lowering the value will make the model feel more fluid and easy to rotate
with the stick input. The model will feel a little more lively during faster cy
-
clic movements and direction changes. Set by using the [
/
+] or [
/
-] key.
Setting ranges: 0 ~ +100
n Initial value: +50
n
Cond
FLT. TUNE screen 3/3
Note
:
To effectively operate the next "ELE Comp"
(elevator correction), make sure to set "Pit High", "Pit
Zero", "Pit Low" on the "SWITCH BASIC" menu.
From 2/3
Go to 1/3 from any
cursor position

Related product manuals