EasyManua.ls Logo

Future Design FDC-8300 - Linear DC Input Wiring; CT; Heater Current Input Wiring

Default Icon
56 pages
Print Icon
To Next Page IconTo Next Page
To Next Page IconTo Next Page
To Previous Page IconTo Previous Page
To Previous Page IconTo Previous Page
Loading...
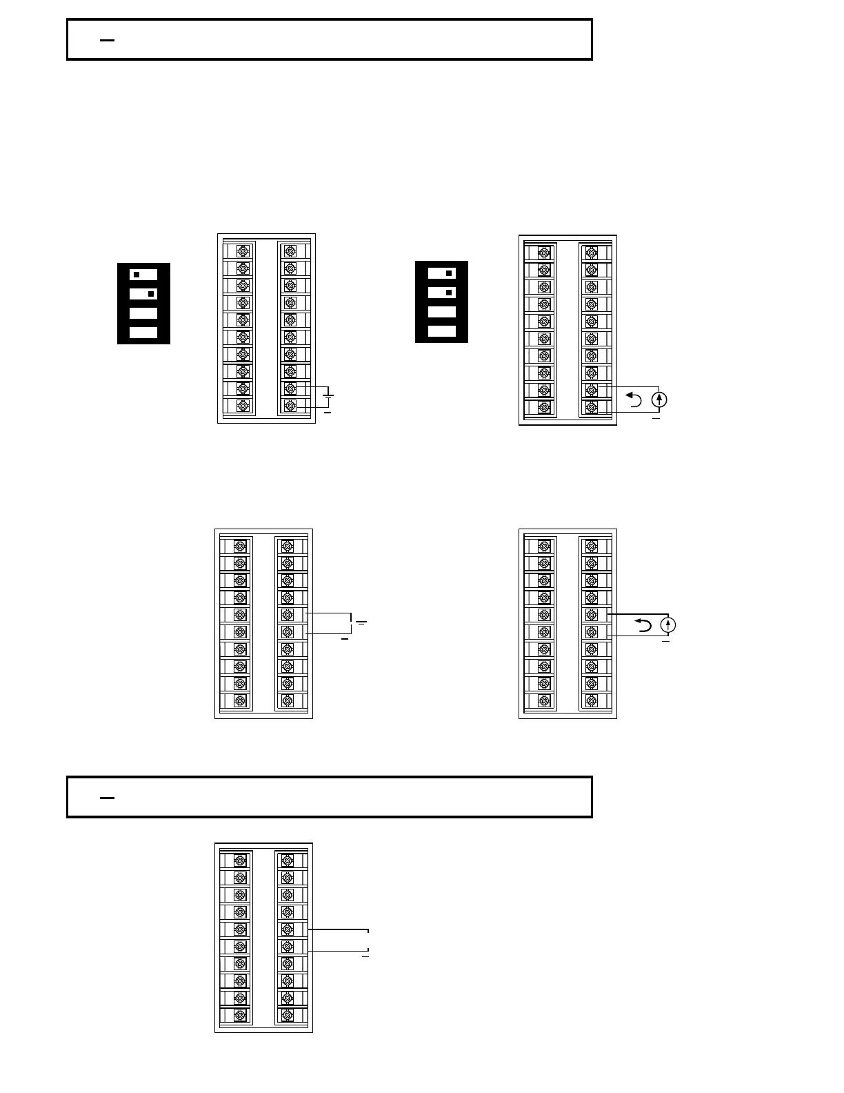
2 8 Linear DC Input Wiring2 8 Linear DC Input Wiring
DC linear voltage and linear current connections for input 1 are shown in Figure
2.7 and Figure 2.8 .
DC linear voltage and linear current connections for input 1 are shown in Figure
2.7 and Figure 2.8 .
DC linear voltage and linear current connections for input 2 are shown in Figure
2.9
and
Figure 2.10 .
DC linear voltage and linear current connections for input 2 are shown in Figure
2.9 and Figure 2.10 .
Figure 2.7
Input 1 Linear Voltage Wiring
Figure 2.7
Input 1 Linear Voltage Wiring
Figure 2.8
Input 1
Linear Current Wiring
Figure 2.8
Input 1 Linear Current Wiring
Figure 2.9
Input 2
Linear Voltage Wiring
Figure 2.9
Input 2 Linear Voltage Wiring
Figure 2.10
Input
2
Linear Current Wiring
Figure 2.10
Input 2 Linear Current Wiring
Figure 2.11
CT Input
Wiring for
Single Phase Heater
Figure 2.11
CT Input Wiring for
Single Phase Heater
2 9 CT / Heater Current Input Wiring2 9 CT / Heater Current Input Wiring
CT Signal Input *Total current CT94-1 not toCT Signal Input *Total current CT94-1 not to
exceed 50 A RMS.exceed 50 A RMS.
UM83001A-August-2024
19
0~1V, 0~5V
1~5V, 0~10V
0~1V, 0~5V
1~5V, 0~10V
+
0~20mA or
4~20mA
0~20mA or
4~20mA
+
+
1 2 3 4
ON
DIP SwitchDIP Switch
0~1V, 0~5V
1~5V, 0~10V
0~1V, 0~5V
1~5V, 0~10V
+
1
2
3
4
5
6
7
8
9
10
11
12
13
14
15
16
17
18
19
20
0~20mA or
4~20mA
0~20mA or
4~20mA
1 2 3 4
ON
+
1
2
3
4
5
6
7
8
9
10
11
12
13
14
15
16
17
18
19
20
DIP SwitchDIP Switch
1
2
3
4
5
6
7
8
9
10
11
12
13
14
15
16
17
18
19
20
1
2
3
4
5
6
7
8
9
10
11
12
13
14
15
16
17
18
19
20
1
2
3
4
5
6
7
8
9
10
11
12
13
14
15
16
17
18
19
20