EasyManua.ls Logo

Future Design FDC-8300 - Event Input Wiring; Alarm 1 Wiring; Alarm 2 Wiring

Default Icon
56 pages
Print Icon
To Next Page IconTo Next Page
To Next Page IconTo Next Page
To Previous Page IconTo Previous Page
To Previous Page IconTo Previous Page
Loading...
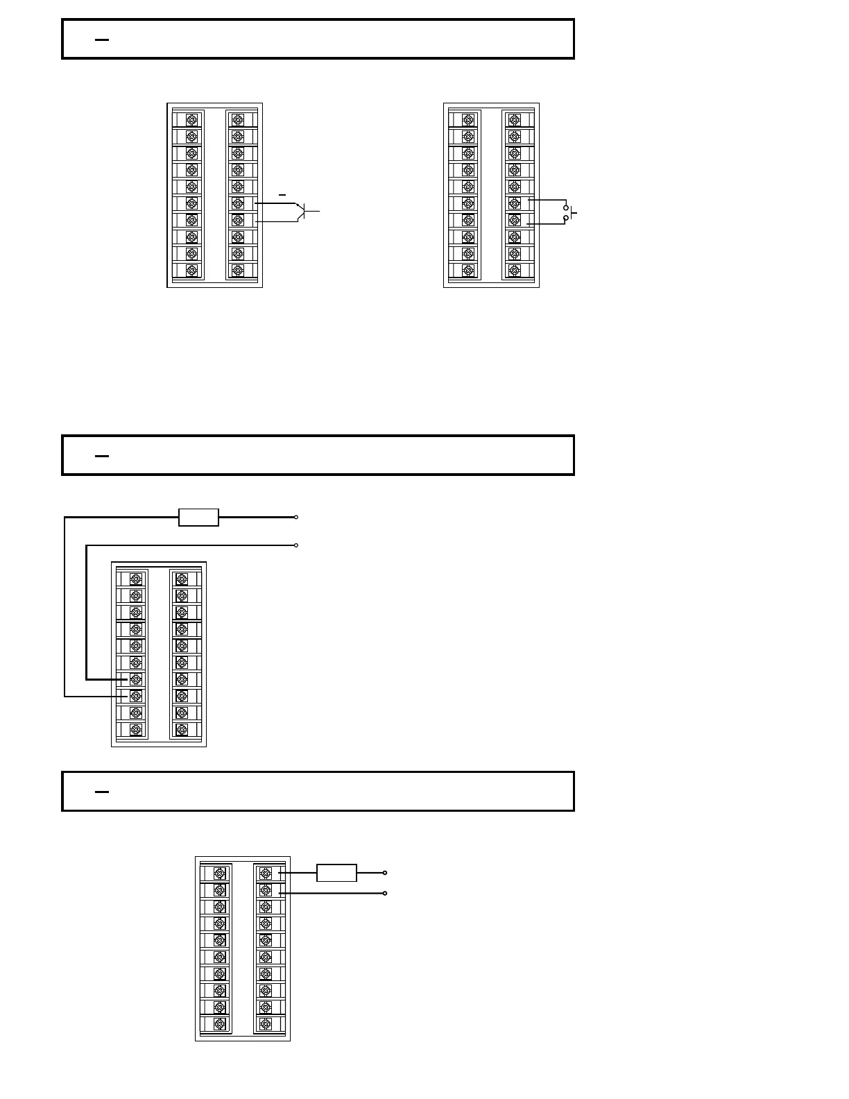
2 12 Event Input wiring2 12 Event Input wiring
Figure 2.14
Event Input Wiring
Figure 2.14
Event Input Wiring
The event input can accept a switch signal as well as an open collector signal. The
event input function ( EIFN ) is activated as the switch is closed or an open collector
( or a logic signal ) is pulled down.
The event input can accept a switch signal as well as an open collector signal. The
event input function ( EIFN ) is activated as the switch is closed or an open collector
( or a logic signal ) is pulled down.
2 13 Alarm 1 Wiring2 13 Alarm 1 Wiring
Figure 2.15
Alarm 1 Wiring
Figure 2.15
Alarm 1 Wiring
2 14 Alarm 2 Wiring2 14 Alarm 2 Wiring
Figure 2.16
Alarm 2 Wiring
Figure 2.16
Alarm 2 Wiring
UM83001A-August-2024
22
Open Collector
Input
Open Collector
Input
Switch InputSwitch Input
+
120V/240V
Mains Supply
120V/240V
Mains Supply
Max. 2A resistiveMax. 2A resistive
Load
Relay Output
Alarm 1
Relay Output
Alarm 1
NOTE: Alarm 1 is a Form C Relay
Terminal
7 - Com
Terminal 8 - N.O.
Terminal 9 - N.C.
Example shows load wired across
Com and N.O. Contact
NOTE: Alarm 1 is a Form C Relay
T
erminal 7 - Com
Terminal 8
- N.O.
Terminal 9
- N.C.
Example shows load wired across
Com and N.O. Contact
120V/240V
Mains Supply
120V/240V
Mains Supply
Max. 2A
Resistive
Max. 2A
Resistive
Load
Relay OutputRelay Output
1
2
3
4
5
6
7
8
9
10
11
12
13
14
15
16
17
18
19
20
1
2
3
4
5
6
7
8
9
10
11
12
13
14
15
16
17
18
19
20
1
2
3
4
5
6
7
8
9
10
11
12
13
14
15
16
17
18
19
20
1
2
3
4
5
6
7
8
9
10
11
12
13
14
15
16
17
18
19
20