EasyManua.ls Logo

Future Design FDC-8300 - Output 2 Wiring

Default Icon
56 pages
Print Icon
To Next Page IconTo Next Page
To Next Page IconTo Next Page
To Previous Page IconTo Previous Page
To Previous Page IconTo Previous Page
Loading...
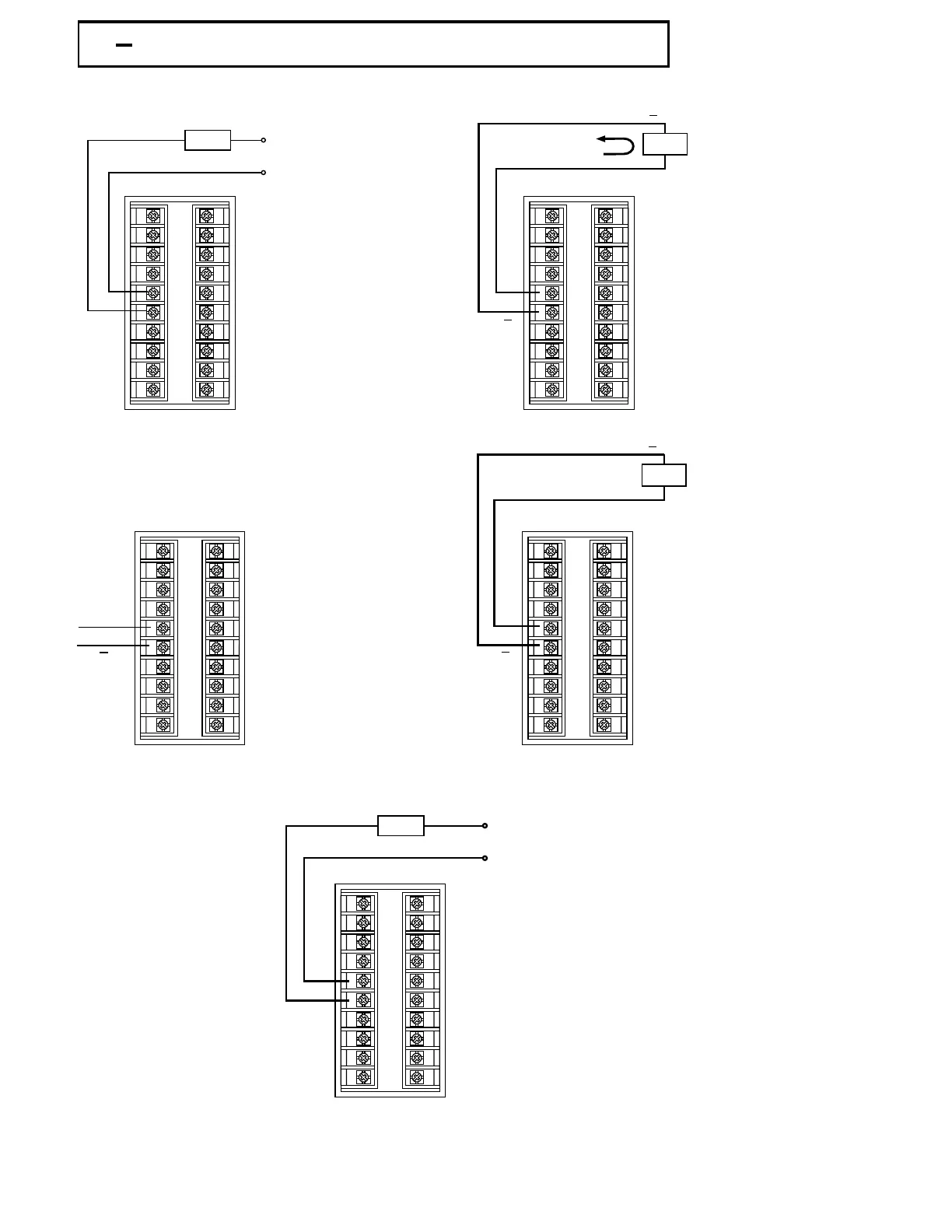
2 11 Output 2 Wiring2 11 Output 2 Wiring
Figure 2.13
Output 2 Wiring
Figure 2.13
Output 2 Wiring
21
UM83001A-August-2024
120V/240V
Mains Supply
120V/240V
Mains Supply
Max. 2A
Resistive
Max. 2A
Resistive
Load
Relay OutputRelay Output
+
30mA / 5V
Pulsed
Voltage
30mA / 5V
P
ulsed
Voltage
Pulsed Voltage to Drive SSRPulsed Voltage to Drive SSR
Linear VoltageLinear Voltage
Minimum Load
10Kohms
Minimum Load
10 K ohms
0-1V, 0-5V
1-5
V
,0-10V
0 - 1V, 0 - 5V
1 - 5V, 0 - 10V
+
+
Load
Linear CurrentLinear Current
Maximum Load
500 ohms
Maximum Load
500 ohms
+
+
0-20mA,
4-20mA
0 - 20mA,
4 - 20mA
Load
Max.1A/240VMax. 1A / 240V
Load
Triac (SSR) Output
Direct Drive
Triac (SSR) Output
Direct Drive
120V /240V
Mains Supply
120V /240V
Mains Supply
1
2
3
4
5
6
7
8
9
10
11
12
13
14
15
16
17
18
19
20
1
2
3
4
5
6
7
8
9
10
11
12
13
14
15
16
17
18
19
20
1
2
3
4
5
6
7
8
9
10
11
12
13
14
15
16
17
18
19
20
1
2
3
4
5
6
7
8
9
10
11
12
13
14
15
16
17
18
19
20
1
2
3
4
5
6
7
8
9
10
11
12
13
14
15
16
17
18
19
20