EasyManua.ls Logo

Future Design FDC-8300 - Output 1 Wiring

Default Icon
56 pages
Print Icon
To Next Page IconTo Next Page
To Next Page IconTo Next Page
To Previous Page IconTo Previous Page
To Previous Page IconTo Previous Page
Loading...
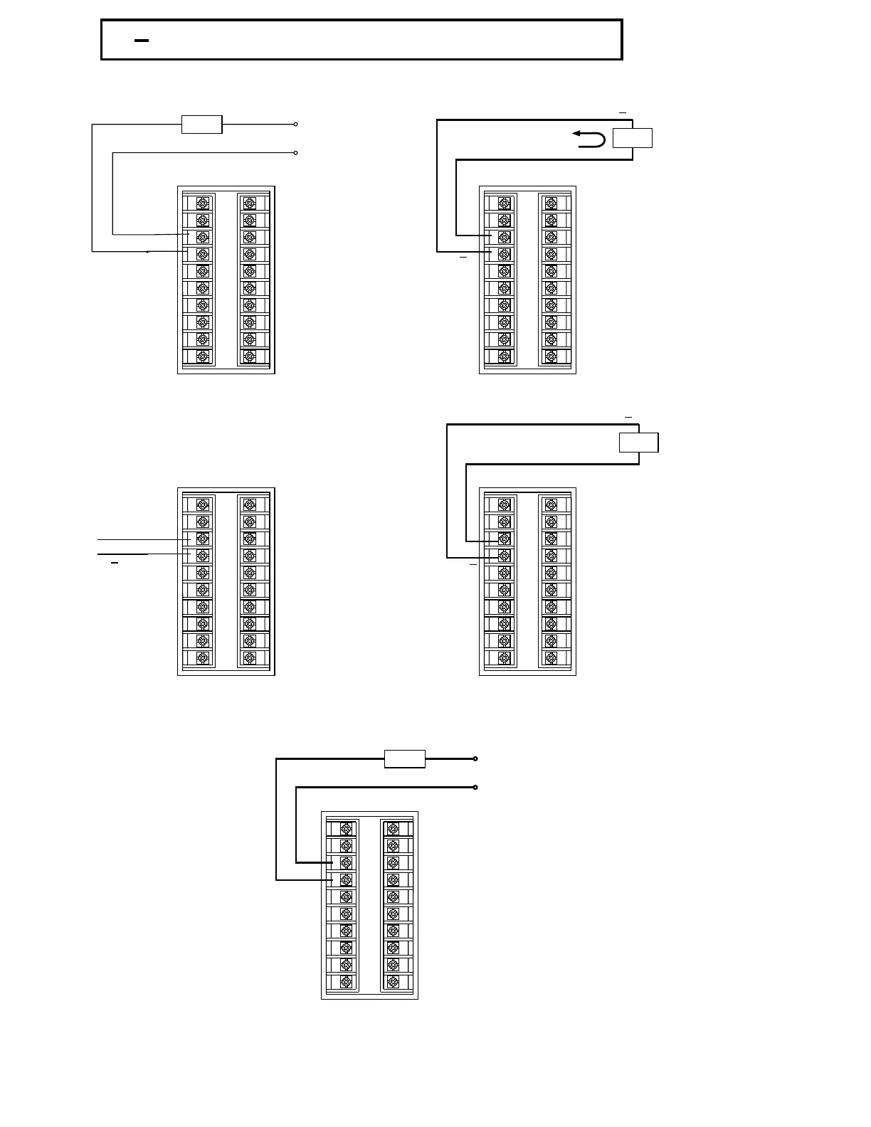
2 10 Output 1 Wiring2 10 Output 1 Wiring
Figure 2.12
Output 1 Wiring
Figure 2.12
Output 1 Wiring
UM83001A-August-2024
20
120V/240V
Mains Supply
120V/240V
Mains Supply
Max. 2A
Resistive
Max. 2A
Resistive
Load
Relay OutputRelay Output
Linear CurrentLinear Current
Maximum Load
500 ohms
Maximum Load
500 ohms
+
+
0-20mA,
4-20mA
0 - 20mA,
4 - 20mA
Load
+
Pulsed Voltage to Drive SSRPulsed Voltage to Drive SSR
30mA / 5V
Pulsed
Voltage
30mA / 5V
P
ulsed
Voltage
0-1V, 0-5V
1-5V,0-10V
0 - 1V, 0 - 5V
1 - 5V, 0 - 10V
Linear VoltageLinear Voltage
Minimum Load
10Kohms
Minimum Load
10 K ohms
+
+
Load
Max.1A/240VMax. 1A / 240V
Load
Triac (SSR) Output
Direct Drive
Triac (SSR) Output
Direct Drive
120V /240V
Mains Supply
120V /240V
Mains Supply
1
2
3
4
5
6
7
8
9
10
11
12
13
14
15
16
17
18
19
20
1
2
3
4
5
6
7
8
9
10
11
12
13
14
15
16
17
18
19
20
1
2
3
4
5
6
7
8
9
10
11
12
13
14
15
16
17
18
19
20
1
2
3
4
5
6
7
8
9
10
11
12
13
14
15
16
17
18
19
20
1
2
3
4
5
6
7
8
9
10
11
12
13
14
15
16
17
18
19
20