EasyManua.ls Logo

GE AF-650 GP - Top Level Module Removal Instructions; Before Proceeding with Module Removal

GE AF-650 GP
212 pages
To Next Page IconTo Next Page
To Next Page IconTo Next Page
To Previous Page IconTo Previous Page
To Previous Page IconTo Previous Page
Loading...
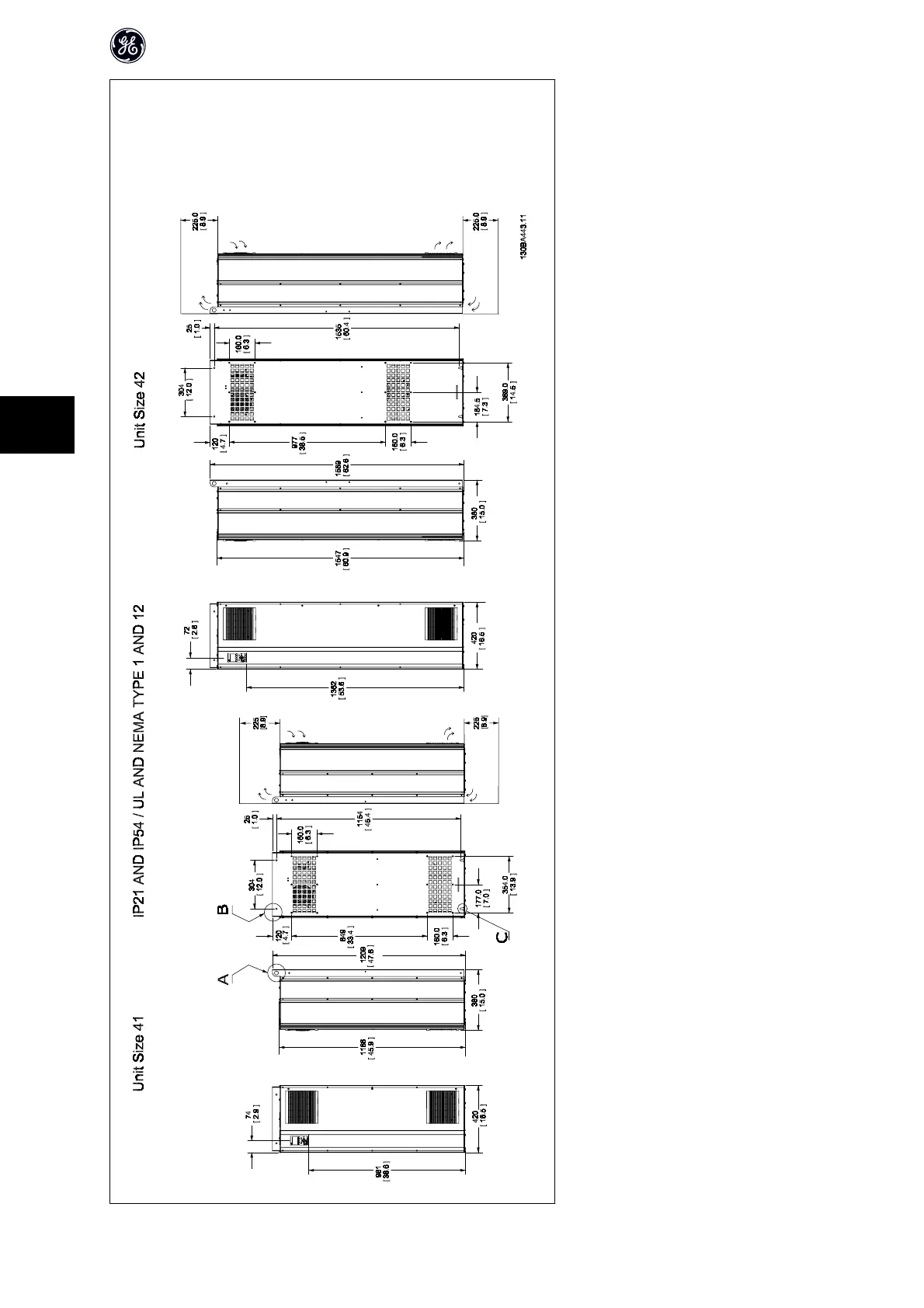
* Please note airflow directions
6.1.5 Mechanical Dimensions
AF-650 GP Design Guide
96
6

Table of Contents

Other manuals for GE AF-650 GP

Related product manuals