EasyManua.ls Logo

GE D200 - Testing Redundancy; WESMAINT Cable Pinouts

GE D200
132 pages
Print Icon
To Next Page IconTo Next Page
To Next Page IconTo Next Page
To Previous Page IconTo Previous Page
To Previous Page IconTo Previous Page
Loading...
D20/D200
Installation and Operations Guide
GE Energy
994-0078-2.00-7 General
88
Full
Connections and Configuration, continued
Testing
Redundancy
Once you have correctly connected and configured your D20/D200 redundant
system, power up and test the system for fail over.
Universal
Protocol
Converter
The UPC contains a jumper field that is configured specifically for each protocol.
Jumpers are pre-set at the factory and should not have to be changed.
See the Configuration Guide for the protocol for the jumper settings that are
required.
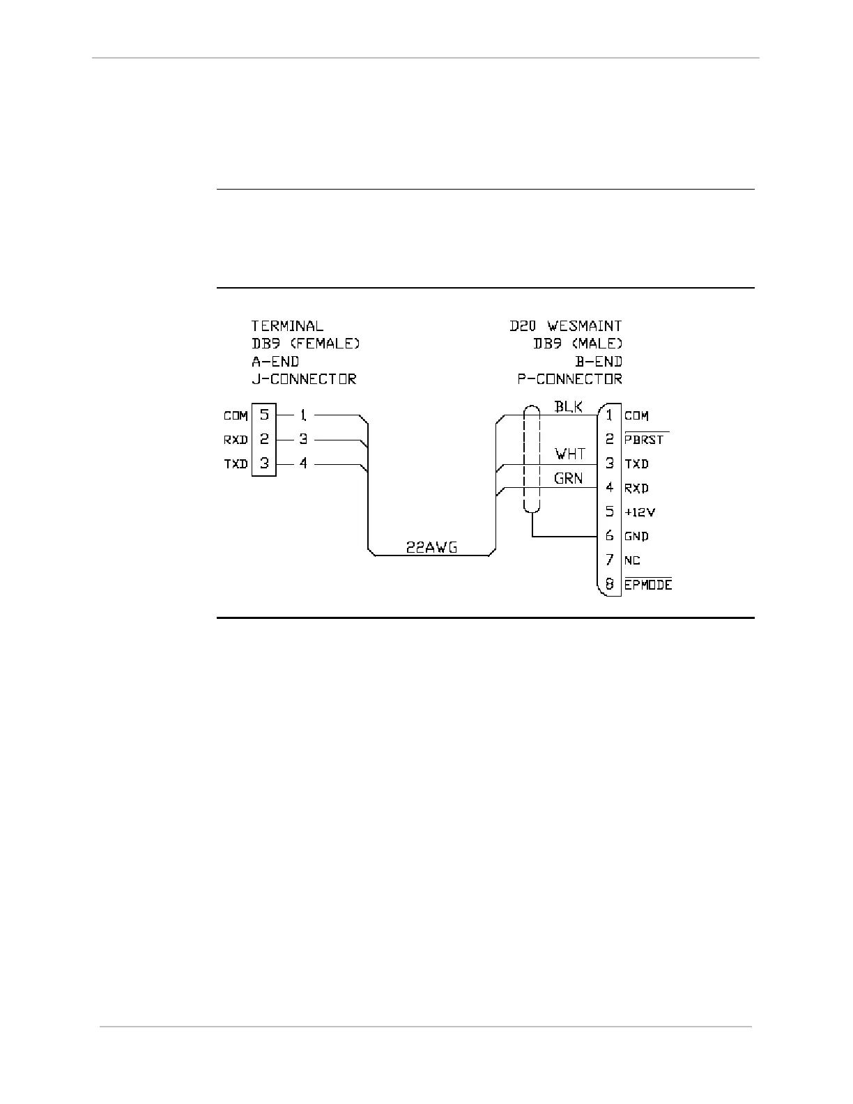
WESMAINT
Cable Pinouts
WESMAINT cable DB-9 connectors pinouts:

Table of Contents

Other manuals for GE D200

Related product manuals