EasyManua.ls Logo

Generac Power Systems HTS Wn

Generac Power Systems HTS Wn
56 pages
To Next Page IconTo Next Page
To Next Page IconTo Next Page
To Previous Page IconTo Previous Page
To Previous Page IconTo Previous Page
Loading...
48
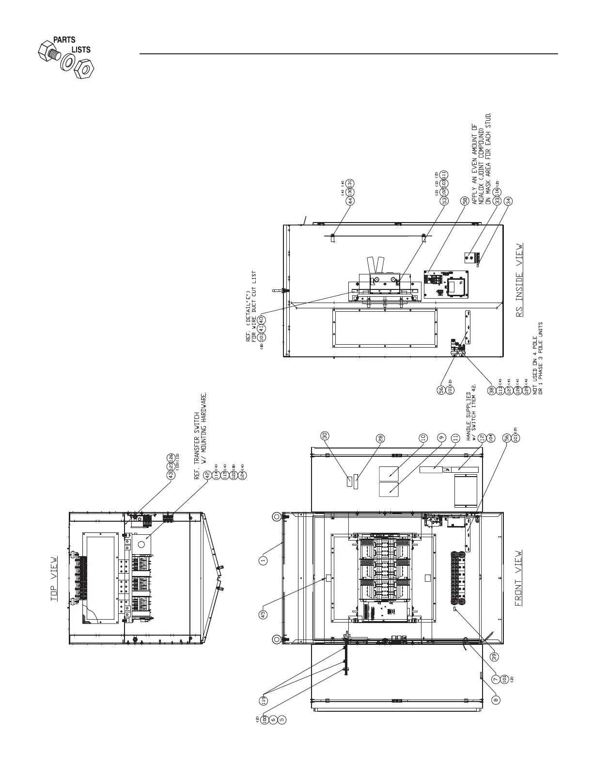
Section 8 — Exploded Views & Parts Lists
Assembly — Drawing No. 0F8939-E - Page 1
Parts List on page 50.

Related product manuals