EasyManua.ls Logo

HANGCHA CPD30J - Page 16

HANGCHA CPD30J
64 pages
Print Icon
To Next Page IconTo Next Page
To Next Page IconTo Next Page
To Previous Page IconTo Previous Page
To Previous Page IconTo Previous Page
Loading...
10
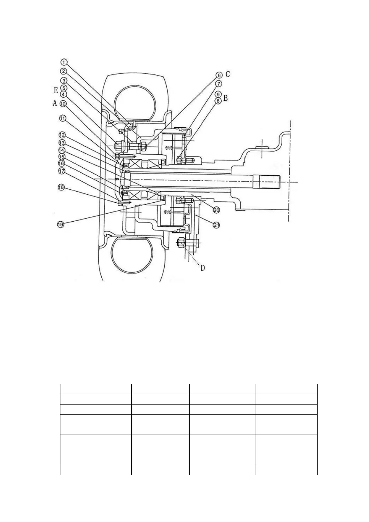
Fig.3-1 Driving axle
1. Rim
2. Brake drum
3. wheel hub
4.Wheel nut
5. Wheel hub bolt
6. Bolt
7.Brake Assembly
8. Wash
9.Bolt
10. Half-axle nut
11. Half axle
12.Bolt
13. Oil seal
14. Taper roller
bearing
15. Adjusting nut
16. Lock nut
17.Pin
18. Paper shim
19. Oil seal
20.Axle case
21. Supporter
Tighten torque: N.m
1-1.8t
2-3t
4-5t
Axle shaft bolt
A
44-58
73.5-88.3
105-156
Trig soleplate bolt
B
76-107
118-147
157-176
nut connecting brake
drum and hub
C
260-347
324-373
324-373
Bolt and nut connecting
support plate and truck
body
D
260-347
324-373
324-373
Tyre nut
E
157-176
441-588
441-588

Related product manuals