EasyManua.ls Logo

Hayward PSC2104 - Page 18

Hayward PSC2104
44 pages
Print Icon
To Next Page IconTo Next Page
To Next Page IconTo Next Page
To Previous Page IconTo Previous Page
To Previous Page IconTo Previous Page
Loading...
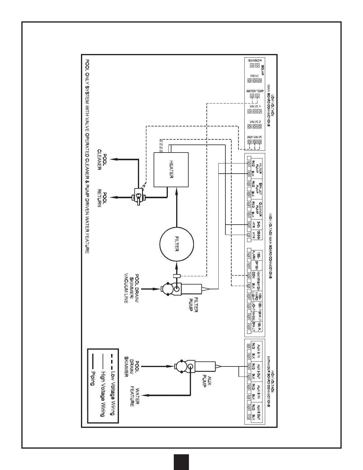
TYPICAL PLUMBING SCHEMATIC (continued)
18