EasyManua.ls Logo

Hayward PSC2104 - Application Overview

Hayward PSC2104
44 pages
Print Icon
To Next Page IconTo Next Page
To Next Page IconTo Next Page
To Previous Page IconTo Previous Page
To Previous Page IconTo Previous Page
Loading...
SOLAR
Notes:
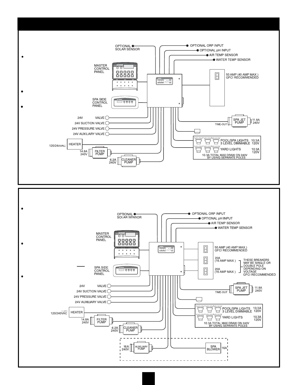
Additional local disconnect
may be required if main
breakers DO NOT meet the
requirements of a local
disconnect.
See IMPORTANT
ELECTRICAL SAFETY
INSTRUCTIONS
Maximum Amp draw for
basic 50 Amp system is
40 Amps.
Cleaner Pump disabled
when Jet Pump is on.
Jet Pump disabled when
Cleaner Pump is on.
6
APPLICATION OVERVIEW
SOLAR
BASIC 20-50 AMP MAX SYSTEM (Without Expander Board Use)
BASIC SYSTEM WITH 20A X 20A (MAX) EXPANDER CIRCUIT BOARD
Notes:
Additional local disconnect
may be required if main
breakers DO NOT meet the
requirements of a local
disconnect.
See IMPORTANT
ELECTRICAL SAFETY
INSTRUCTIONS
Max Amp draw for the Basic
50 Amp System and
Expander Board
Basic 50 Amp System- 40A
Expander Board Circuit #1- 16A
Expander Board Circuit #2- 16A
Total 72A
Cleaner Pump disabled
when Jet Pump is on.
Jet Pump disabled when
Cleaner Pump is on.
20 X 20 EXPANDER BOARD
MAIN POWER PANEL
MAIN POWER PANEL
TWO HOUR
LIGHTING OPTION 1.6A
LIGHTING OPTION 1.6A
TWO HOUR
(future)
may be
2-speed
may be
2-speed
may be
2-speed
may be
2-speed
(future)
1.5A
1.5A