EasyManua.ls Logo

Henny Penny EVOLUTION ELITE EEE-182 - Page 86

Henny Penny EVOLUTION ELITE EEE-182
118 pages
Print Icon
To Next Page IconTo Next Page
To Next Page IconTo Next Page
To Previous Page IconTo Previous Page
To Previous Page IconTo Previous Page
Loading...
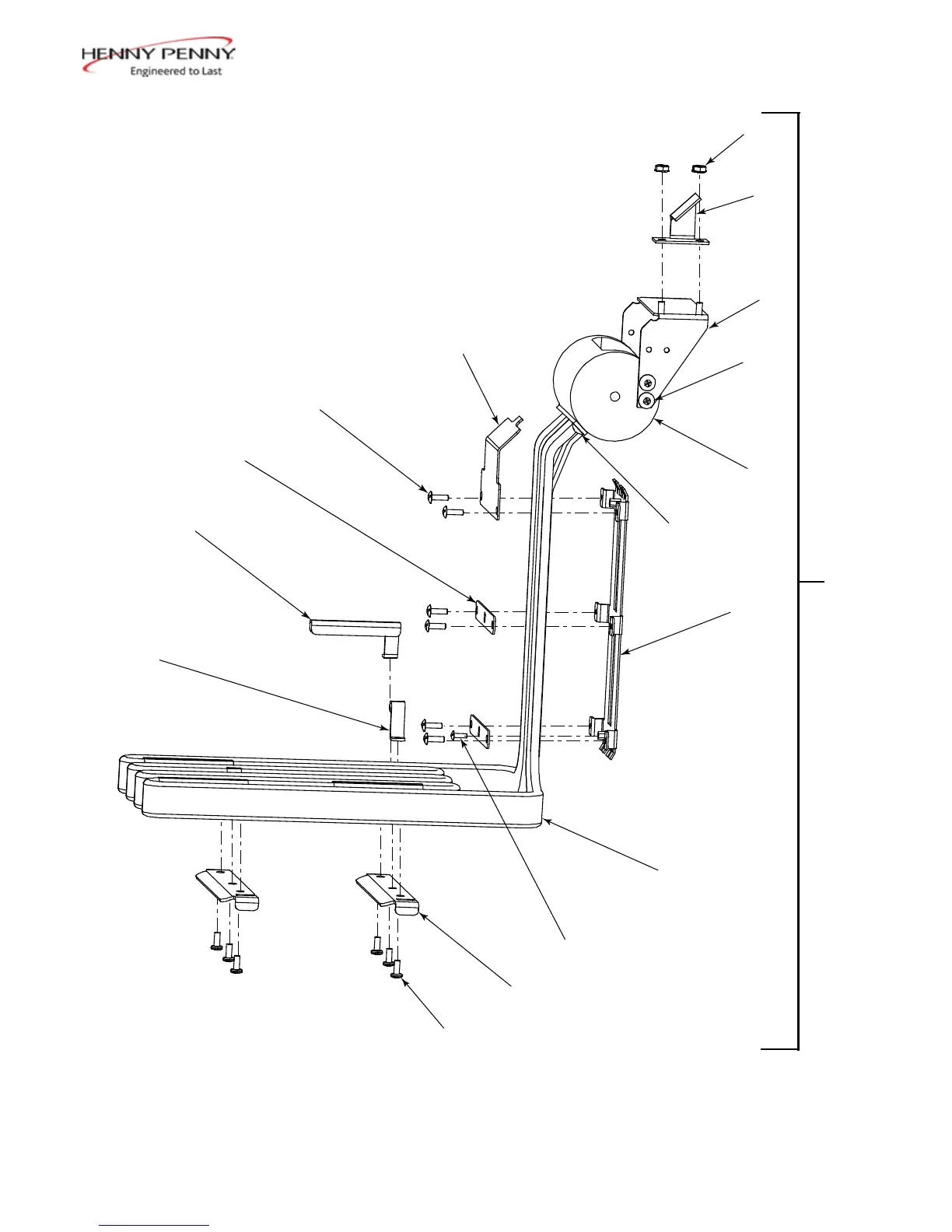
Model EEE-182
7-2
06160007
1
4
2
3
5
6
7
8
9
10
11
(2PL)
12 (6PL)
13 (2PL)
14 (4PL)
16 (6PL)
15 (2PL)
17
8.5kw Split Heating Elelemnt Assy
July 2016

Related product manuals