EasyManua.ls Logo

Hioki 3286 - Page 25

Hioki 3286
75 pages
Print Icon
To Next Page IconTo Next Page
To Next Page IconTo Next Page
To Previous Page IconTo Previous Page
To Previous Page IconTo Previous Page
Loading...
10
Chapter 1 Product Outline
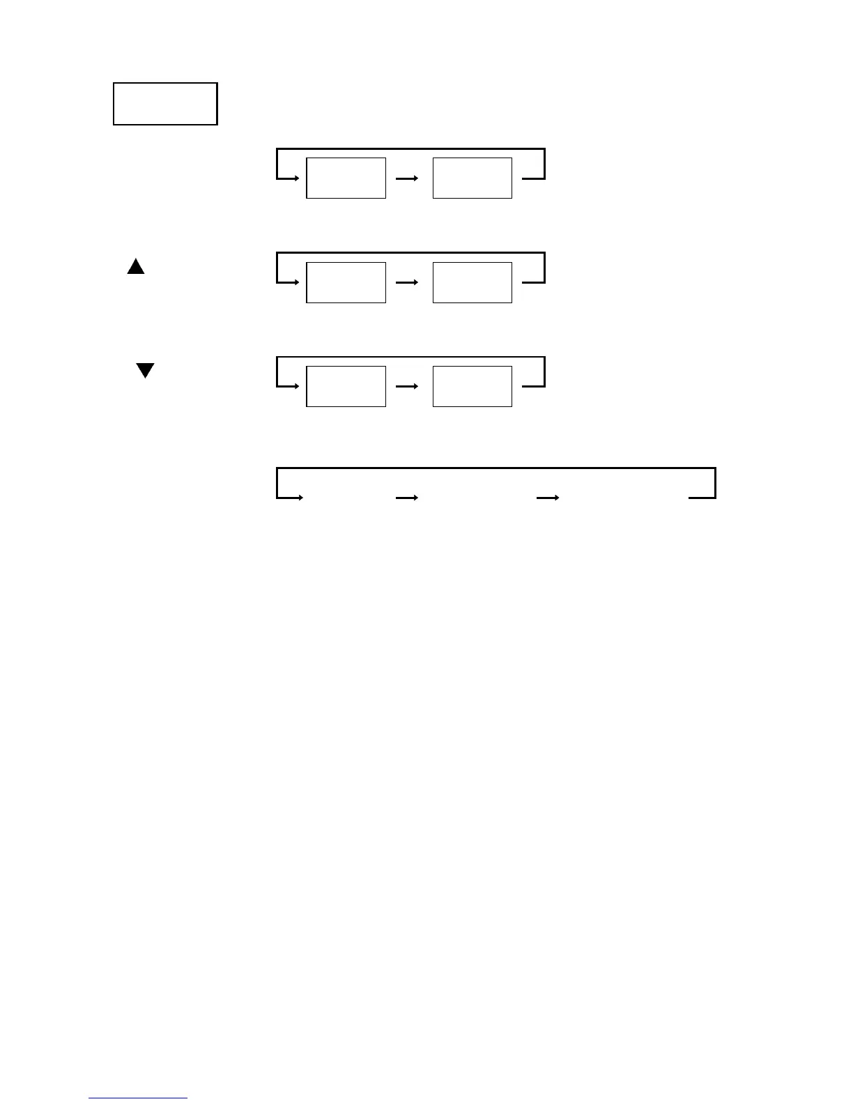
REC ON
Watt key
MODE key
I/
key
U/
key
P
MAX, MIN
S
MAX, MIN
I
MAX, MIN
Ipeak
MAX, MIN
U
MAX, MIN
Upeak
MAX, MIN
(Return to the
power
indication with
the Watt key)
MAX/MIN
display
Elapsed time
display
Remaining
battery
capacity display
(Return to the
power
indication with
the Watt key)

Related product manuals