EasyManua.ls Logo

Hioki 3286 - Key Operation Flowcharts

Hioki 3286
75 pages
Print Icon
To Next Page IconTo Next Page
To Next Page IconTo Next Page
To Previous Page IconTo Previous Page
To Previous Page IconTo Previous Page
Loading...
9
Chapter 1 Product Outline
LINE/HARM key
Watt key
COSφ
U, I
P
U, I
S
U, I
1φ Pmeter
SINφ
U, I
COSφ
U, I
φ
U, I
1φ PF meter
COSφ
U, I
P
U, I
S
U, I
3φ PF meter
SINφ
U, I
φ
U, I
MODE key
(P,S only)
P
U, I
P
vAr, Q
S
U, I
S
vAr, Q
I/ key
I
Ipeak, IHz
(Return to the power indication
w
ith the Watt key)
U/ key
U
Upeak, UHz
MAX/MIN key
REC ON REC OFF
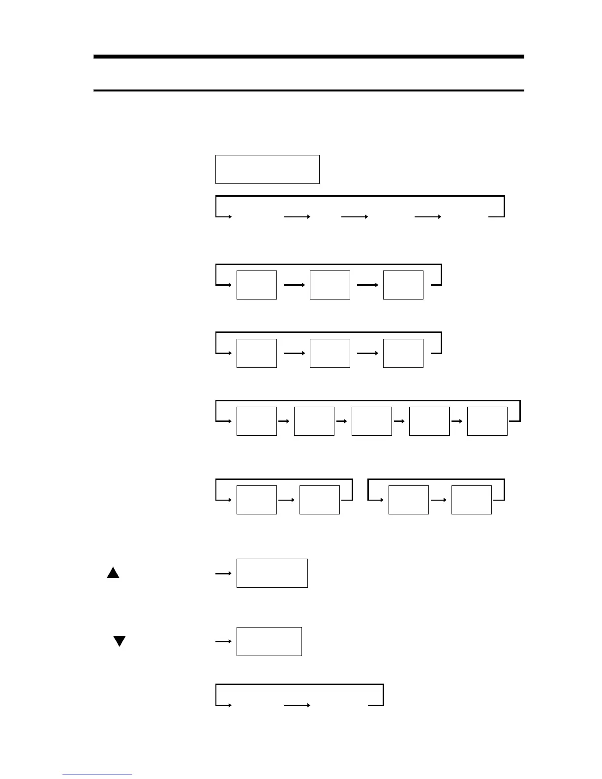
A point of view: This shows the way of changing on Display 1 to 3.
Display 1
Display 2, Display 3
1φ P
or
1φ PF
3φ
PF
1φ
HARM I
1φ
HARM U
(Return to the power indication
w
ith the Watt key)
1.4 Flowchart of Key Operations
1.4.1 Current Measurements Mode

Related product manuals