EasyManua.ls Logo

Hioki 3286 - Voltage Harmonic Analysis

Hioki 3286
75 pages
Print Icon
To Next Page IconTo Next Page
To Next Page IconTo Next Page
To Previous Page IconTo Previous Page
To Previous Page IconTo Previous Page
Loading...
32
Chapter 2 Measurement Procedure
1φ P
or
1φ PF
3φ
PF
1φ
HARM I
1φ
HARM U
I/
key
U/
key
1st order 2nd order ---- 20thorder
20th order 19th order ---- 1storder
MODE
key
THD-R
THD-F Content
NOTE
2.5.2 Volta
g
e Harmonics
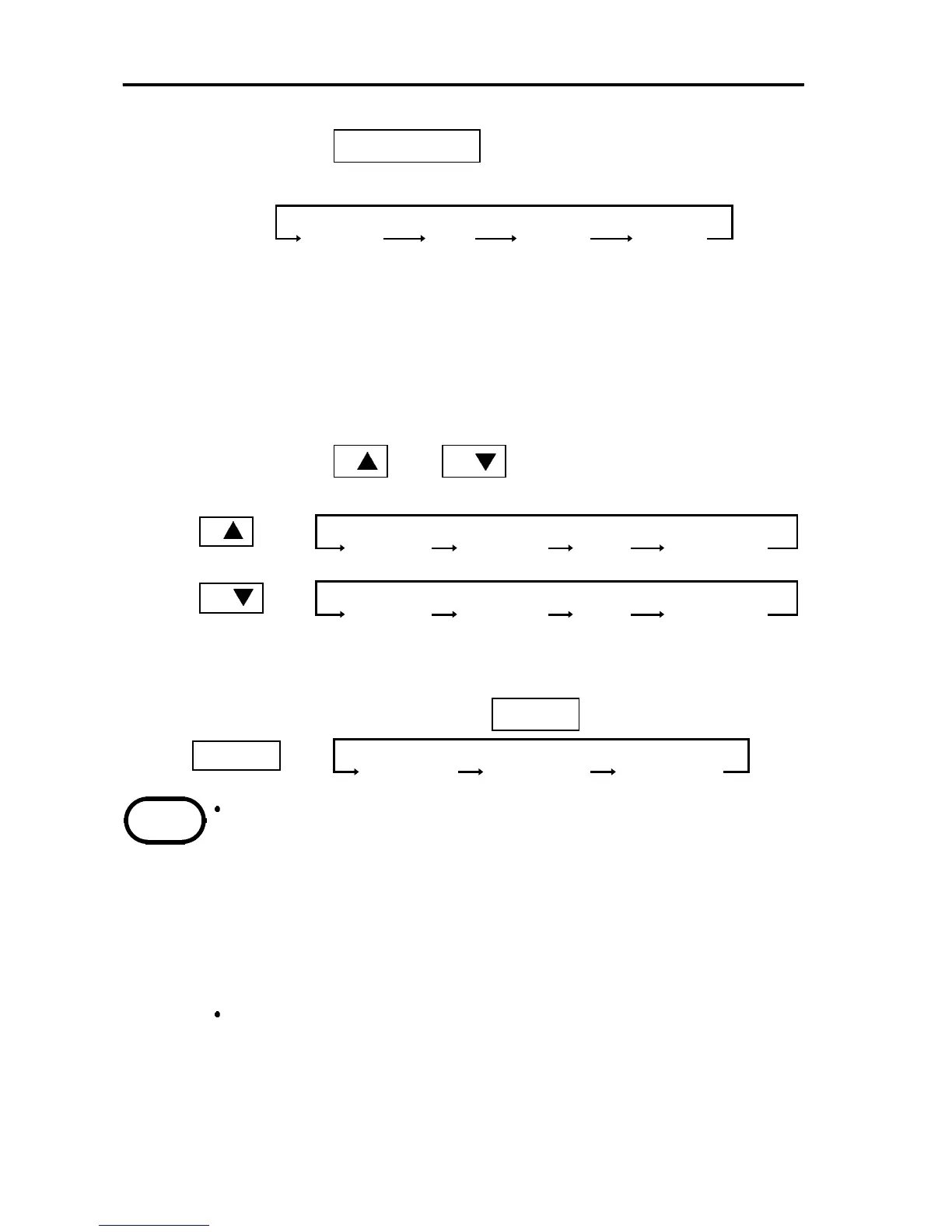
1. Press the
LINE/HARM
key to activate harmonic
voltage display mode.
2. Connect the voltage cord to the unit, then connect
the red cord and black cord to the circuit under
measurement.
3. Switch between Auto Range and Manual Range, as
needed. For details, see 2.3, "Range Setup."
4. Press the
I/
and
U/
keys to select the order of
harmonics to be measured.
5. Switch between the total harmonic distortion ratio
(THD-R, THD-F) and harmonic percentage, as
needed, by pressing the
MODE
key.
Automatic frequency detection (AUTO), 50 Hz
fixed, or 60 Hz fixed can be selected. In cases
where the input fluctuates significantly, the
indicated value will stabilize when 50 Hz or 60 Hz
fixed is selected. For how to select, see the setup of
measurement line frequency in SETUP mode. (For
details, see 2.9, "SETUP Function.")
For automatic frequency detection, the unit
performs FFT operations only when the fundamental
wave is covered within the 45 to 65 Hz range. The
unit does not perform FFT operations outside this
range.

Related product manuals