EasyManua.ls Logo

Hioki 3286 - Page 34

Hioki 3286
75 pages
Print Icon
To Next Page IconTo Next Page
To Next Page IconTo Next Page
To Previous Page IconTo Previous Page
To Previous Page IconTo Previous Page
Loading...
19
Chapter 2 Measurement Procedure
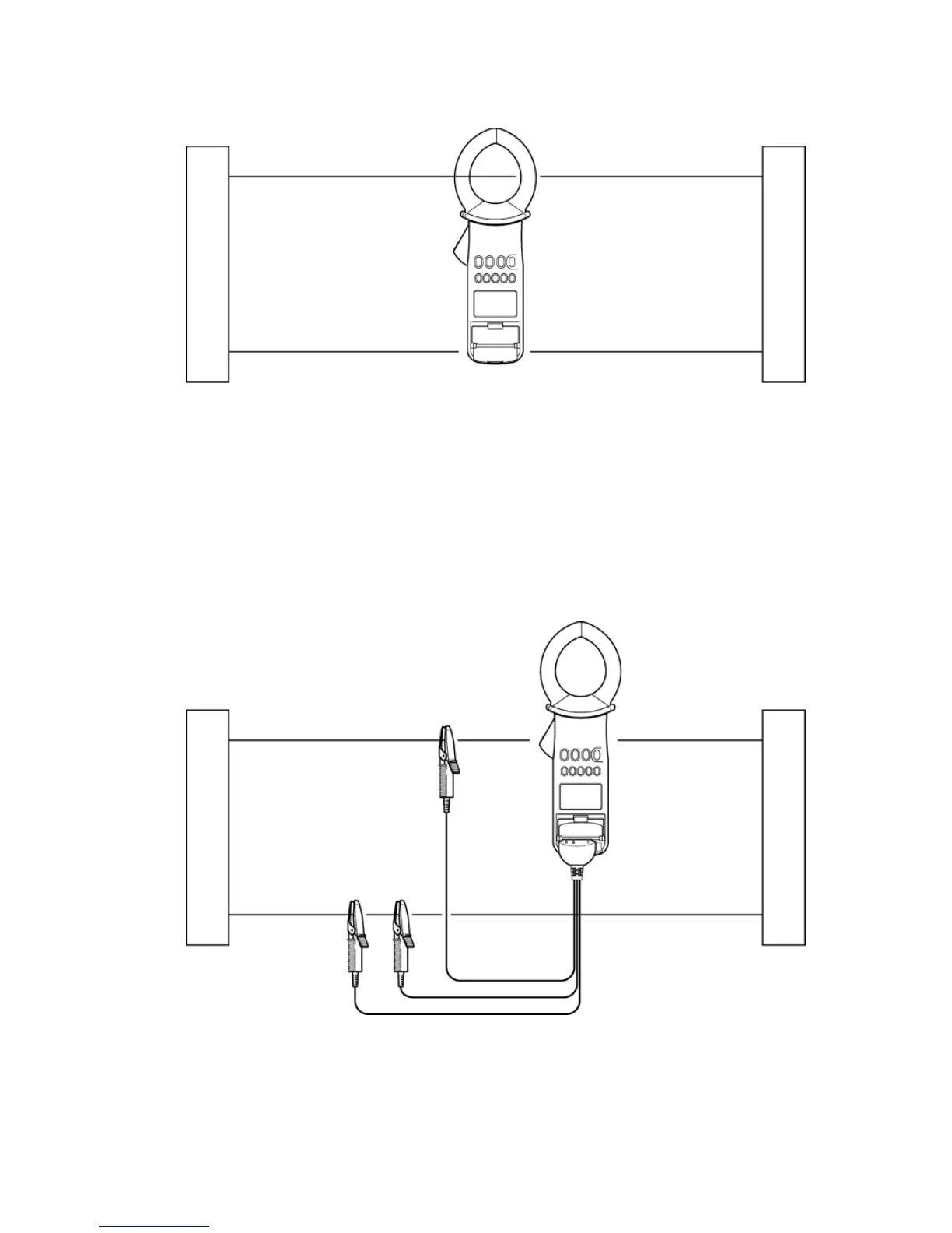
Power supply side
Load
Fi
g
ure 6. Current measurement
Red
Yellow
Black
Load
Power supply side
Fi
g
ure 7. Volta
g
e measurement
[Current measurement]
When only measuring current, the orientation of the
clamp sensor is irrelevant. Moreover, the voltage
cord need not be connected to the unit.
[Voltage measurement]
When only measuring voltage, the clamp sensor
need not be clamped.

Related product manuals