EasyManua.ls Logo

Hobart GPU-600 - Page 74

Hobart GPU-600
104 pages
Print Icon
To Next Page IconTo Next Page
To Next Page IconTo Next Page
To Previous Page IconTo Previous Page
To Previous Page IconTo Previous Page
Loading...
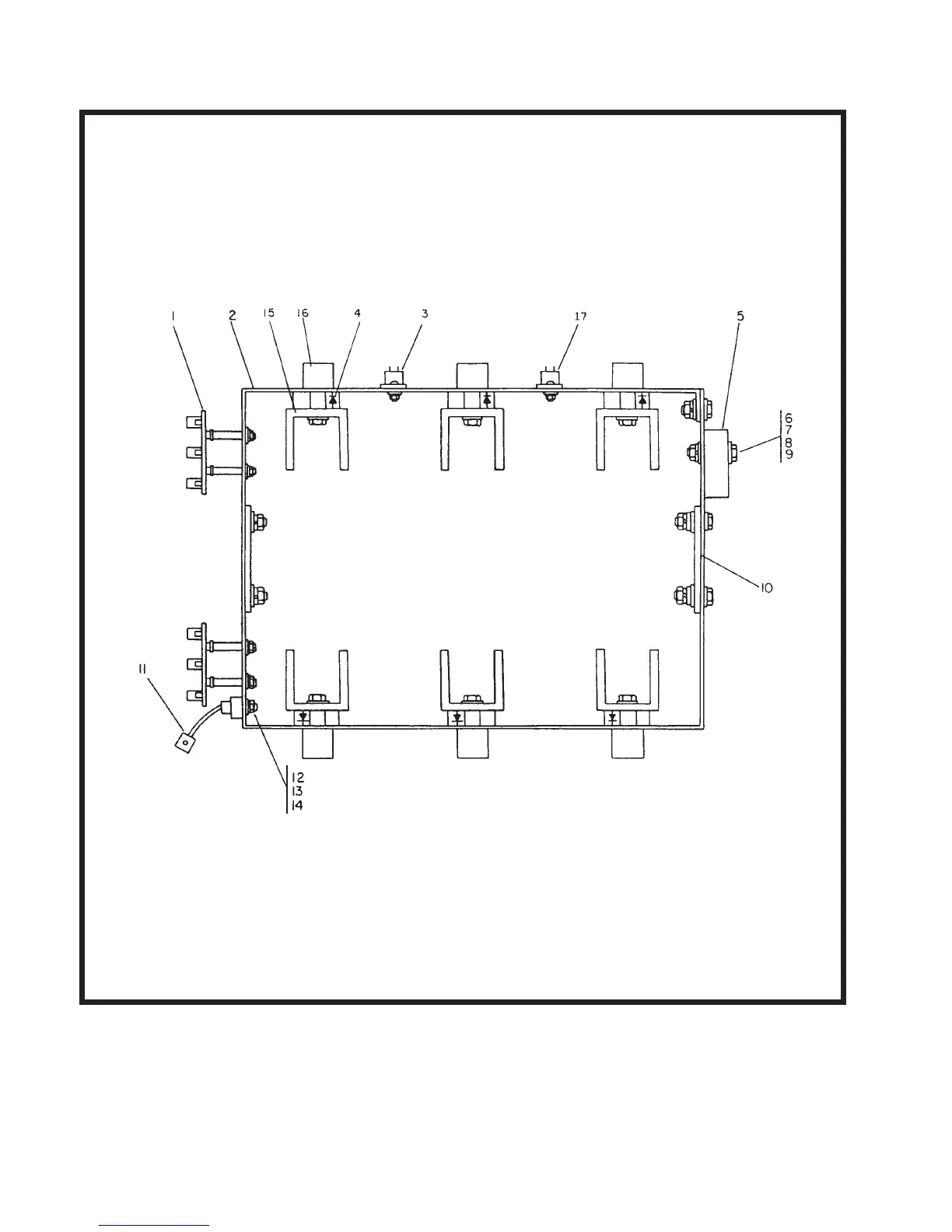
SCR Heat Sink Assembly
Figure 3
OM-2010
4-3 August 24/89 Revised
Page 8

Table of Contents

Related product manuals