EasyManua.ls Logo

Honda BF8A - Wiring Diagrams

Honda BF8A
89 pages
Print Icon
To Next Page IconTo Next Page
To Next Page IconTo Next Page
To Previous Page IconTo Previous Page
To Previous Page IconTo Previous Page
Loading...
TECHNICAL & CONSUMER INFORMATION
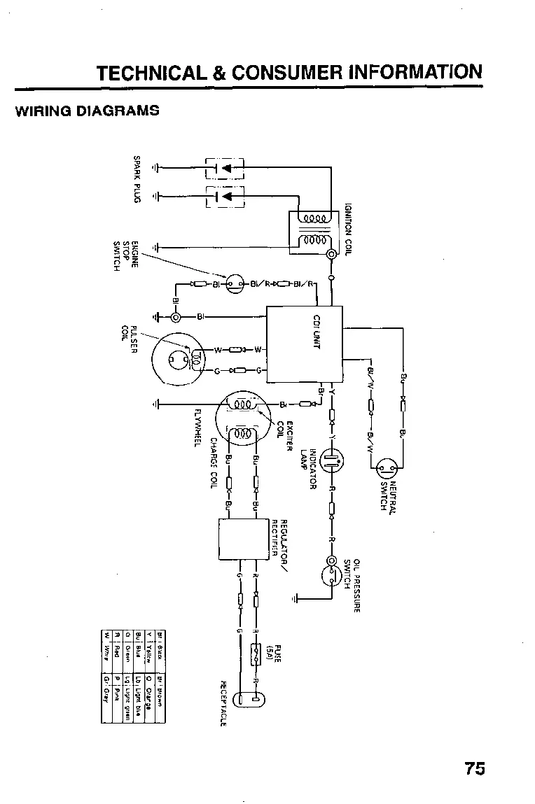
WIRING DIAGRAMS
75

Table of Contents

Related product manuals