EasyManua.ls Logo

Honeywell HVC0001 - Installation À 2 Fils

Honeywell HVC0001
64 pages
To Next Page IconTo Next Page
To Next Page IconTo Next Page
To Previous Page IconTo Previous Page
To Previous Page IconTo Previous Page
Loading...
Guide du propriétaire 400-305-000-EFS
4
FRANÇAIS
n Mettre le circuit hors tension au panneau électrique principal.
o Enlever l’interrupteur existant s’il y a lieu.
p Installer le contrôleur.
q Remettre le circuit sous tension au panneau électrique principal.
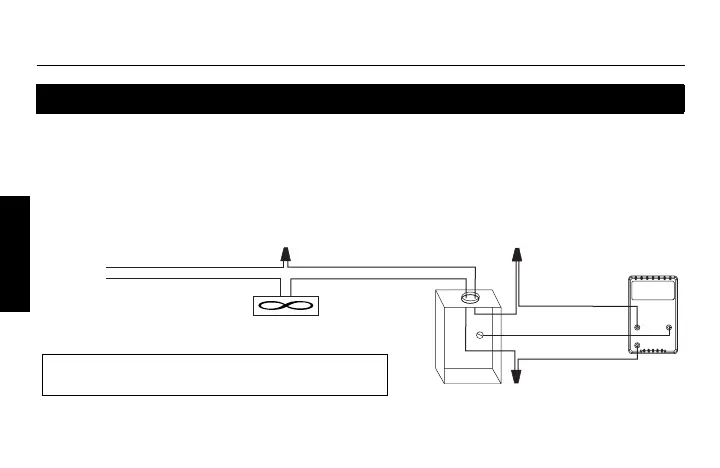
Installation à 2 fils
noir
blanc
noir (LINE)
noir (LOAD)
vert (GND)
120
Vca
noir
blanc
Pour l'installation dans des endroits mouillés, protéger le circuit
avec un disjoncteur différentiel de fuite à la terre (DDFT).
400-305-000-B (69-2316EFS-03).book Page 4 Monday, September 28, 2009 11:06 AM

Other manuals for Honeywell HVC0001

Related product manuals